授权公布号:CN214465883U
一种观览车驱动装置用摩擦轮调节机构
有效
申请
2020-12-31
申请公布
1970-01-01
授权
2021-10-22
预估到期
2030-12-31
| 申请号 | CN202023332720.8 |
| 申请日 | 2020-12-31 |
| 授权公布号 | CN214465883U |
| 授权公告日 | 2021-10-22 |
| 分类号 | F16H7/02;F16H7/18 |
| 分类 | 工程元件或部件;为产生和保持机器或设备的有效运行的一般措施;一般绝热; |
| 申请人名称 | 河北中冶冶金设备制造有限公司 |
| 申请人地址 | 河北省邢台市沙河市建设路10号 |
专利法律状态
2021-10-22
授权
状态信息
授权
摘要
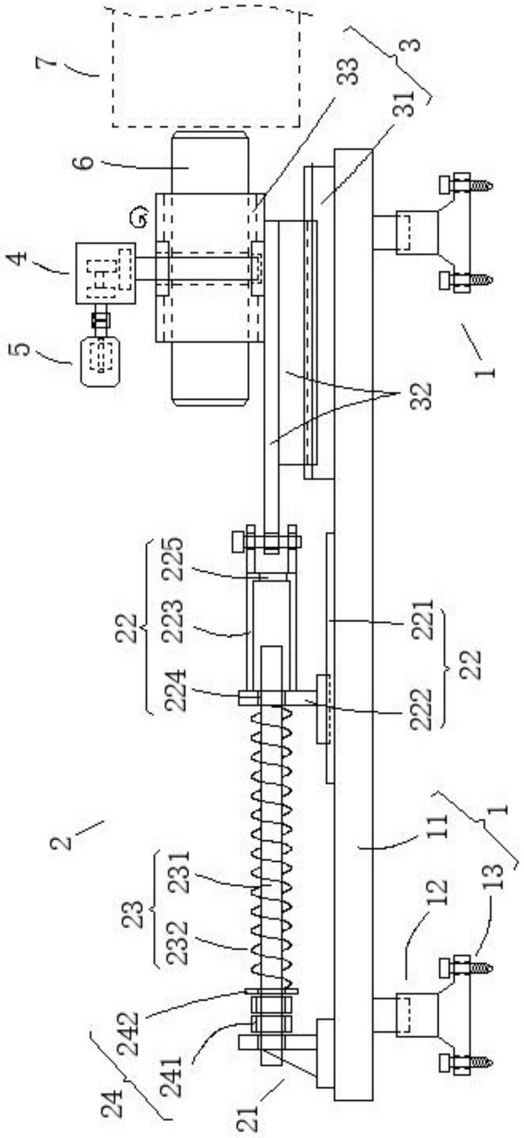
本实用新型提供了一种观览车驱动装置用摩擦轮调节机构,属于观览车设计加工技术领域,包括支撑座、弹性推顶组件和滑动支撑组件,弹性推顶组件用于向靠近摩擦带方向推顶,弹性推顶组件的推顶力可调节,滑动支撑组件滑动设于支撑座上端且位于弹性推顶组件的推顶延伸方向上,观览车驱动装置的摩擦轮转动设于滑动支撑组件上,摩擦轮借助于弹性推顶组件向靠近摩擦带方向移动并抵接到摩擦带上,摩擦轮与摩擦带之间抵接力度通过弹性推顶组件调整。本实用新型提供的一种观览车驱动装置用摩擦轮调节机构,具有对观览车驱动装置上的摩擦轮能调节,对摩擦带抵接力度均匀,实现观览车的匀速旋转,增强乘坐感受的技术效果。


