授权公布号:CN214436463U
一种轨道连接结构
有效
申请
2020-12-31
申请公布
1970-01-01
授权
2021-10-22
预估到期
2030-12-31
| 申请号 | CN202023333299.2 |
| 申请日 | 2020-12-31 |
| 授权公布号 | CN214436463U |
| 授权公告日 | 2021-10-22 |
| 分类号 | A63G21/06 |
| 分类 | 运动;游戏;娱乐活动; |
| 申请人名称 | 河北中冶冶金设备制造有限公司 |
| 申请人地址 | 河北省邢台市沙河市建设路10号 |
专利法律状态
2021-10-22
授权
状态信息
授权
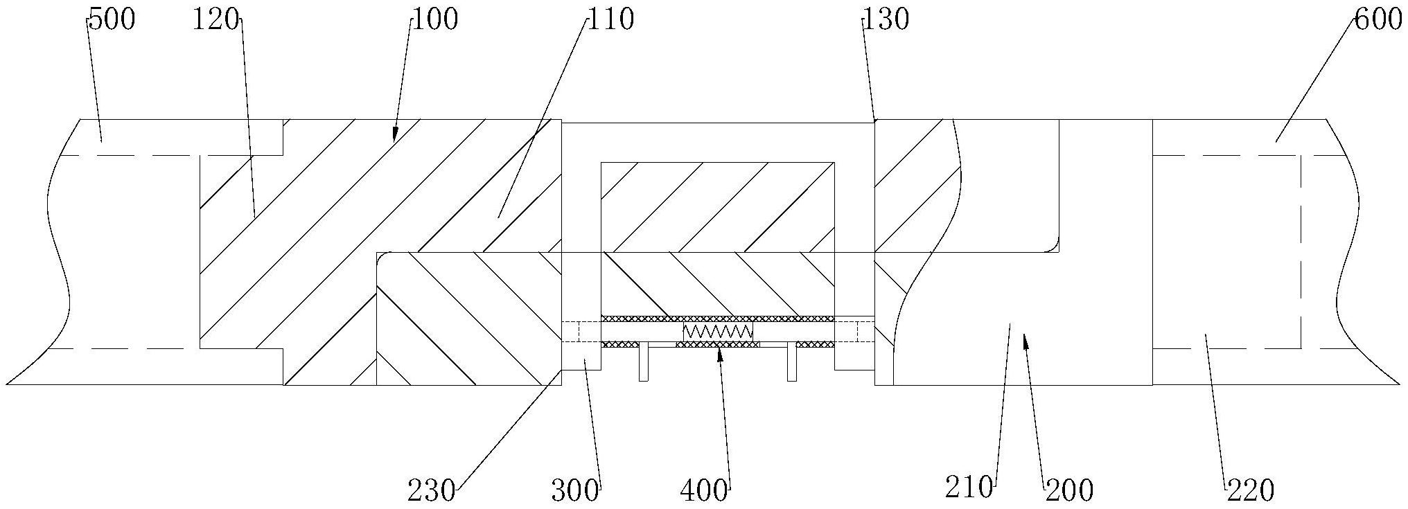
摘要
本实用新型提供了一种轨道连接结构,属于过山车设备结构技术领域,包括第一块体、第二块体、U形杆以及锁紧结构。第一块体端部设有第一插接块;第二块体端部上设有第二插接块,第二插接块与第一插接块相互搭接;U形杆的两个自由端依次贯穿第一插接块和第二插接块;锁紧结构包括位于设于两个自由端之间的筒体以及沿筒体轴向滑动的两个插接件,两个插接件分别插装于两个自由端,穿入第一插接块和第二插接块的端部。本实用新型提供的一种轨道连接结构,通过U形杆的两个自由端穿过第一插接件和第二插接件,锁紧结构的两个插接件插入到U形杆的两个自由端,将第一插接块与第二插接块定位并锁紧,使第一管体和第二管体快速可靠连接。


