授权公布号:CN108294928B
一种多功能腿部按摩装置
有效
申请
2018-01-31
申请公布
2018-07-20
授权
2019-12-27
预估到期
2038-01-31
| 申请号 | CN201810097540.4 |
| 申请日 | 2018-01-31 |
| 申请公布号 | CN108294928A |
| 申请公布日 | 2018-07-20 |
| 授权公布号 | CN108294928B |
| 授权公告日 | 2019-12-27 |
| 分类号 | A61H15/00;A61F7/00 |
| 分类 | 医学或兽医学;卫生学; |
| 申请人名称 | 佛山市赛玛电子科技有限公司 |
| 申请人地址 | 广东省佛山市顺德区乐从镇良教工业区马应酬综合楼 |
专利法律状态
2019-12-27
授权
状态信息
授权
2019-12-24
专利申请权、专利权的转移
状态信息
专利申请权的转移IPC(主分类):A61H 15/00登记生效日:20191204变更前 申请人:赣州研顺飞科技有限公司 地址:341000 江西省赣州市赣县区赣州高新技术产业园区赣州研顺飞科技有限公司变更后 申请人:佛山市赛玛电子科技有限公司 地址:528315 广东省佛山市顺德区乐从镇良教工业区马应酬综合楼
2018-08-14
实质审查的生效
状态信息
实质审查的生效IPC(主分类):A61H 15/00
2018-07-20
公布
状态信息
公开
摘要
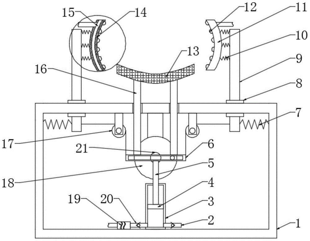
本发明公开了一种多功能腿部按摩装置,包括盒体、电机、圆盘、活动杆、支撑杆、腿部放置板、牵引绳、安装板、第一弹簧、弧形按摩板、第二弹簧、按摩球、活塞杆、活塞、缸体、弧形通道和气孔,本发明设有电机、圆盘、活动杆、支撑杆和腿部放置板,通过以上部件配合活动人体腿部关节,避免长时间关节僵硬不利于恢复,设有牵引绳、第一弹簧、安装板、第二弹簧和弧形按摩板,通过配合不断对人体腿部进行按摩,对人体腿部进行间断性的挤压按摩处理,有效提高了按摩效果,并且自动化程度高,节省了人力,降低了医护人员的劳动强度,设有活塞杆、活塞、缸体、弧形通道和气孔,边按摩边进行加热,进一步促进血液循环,提高了按摩效果。


