授权公布号:CN216798026U
一种轻量形吸水巾
有效
申请
2021-12-16
申请公布
1970-01-01
授权
2022-06-24
预估到期
2031-12-16
| 申请号 | CN202123175033.4 |
| 申请日 | 2021-12-16 |
| 授权公布号 | CN216798026U |
| 授权公告日 | 2022-06-24 |
| 分类号 | A61F13/472;A61F13/475;A61F13/476;A61F13/511;A61F13/514;A61F13/534 |
| 分类 | 医学或兽医学;卫生学; |
| 申请人名称 | 杭州可靠护理用品股份有限公司 |
| 申请人地址 | 浙江省杭州市临安锦城街道(城西工业园)花桥路2号 |
专利法律状态
2022-06-24
授权
状态信息
授权
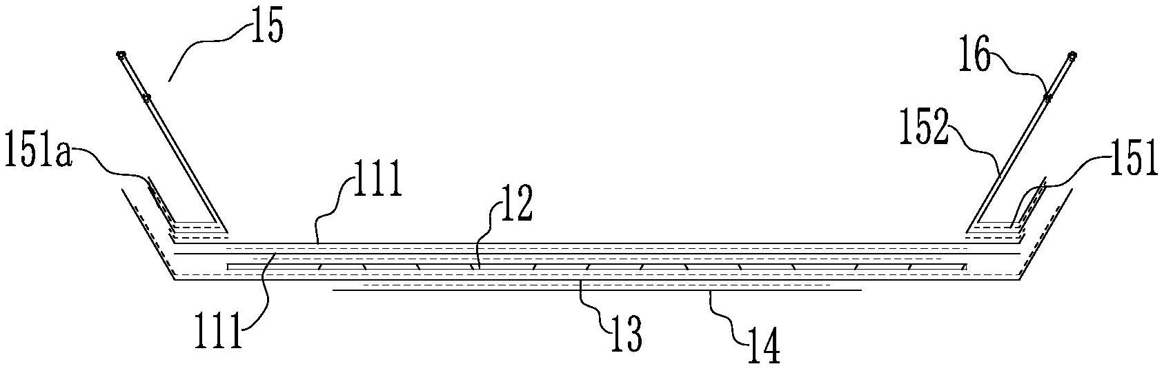
摘要
本实用新型涉及卫生用品领域,一种轻量形吸水巾,包括吸水巾本体,以及包覆在吸水巾本体外侧的包膜;所述吸水巾本体从上至下依次复合粘连的亲肤面层、吸收芯体、防漏底膜和背离型纸;所述吸收芯体的两侧边缘上方的亲肤面层上表面粘连固定有防漏侧翼;所述防漏侧翼包括处于下方与亲肤面层粘连固定的连接部,以及由连接部的内侧向上竖立于亲肤面层侧边上的护围部;所述护围部外侧的连接部及其下方复合粘连的亲肤面层和防漏底膜均向上形成有第一折弯部。该轻量形吸水巾在防漏侧翼外侧形成倾斜向上的第一折弯部,如此防漏侧翼内侧相对较低,液体难以从防漏侧翼与亲肤面层粘连处渗透出去,起到良好的防侧漏效果。


