授权公布号:CN210769628U
一种旋转塔游乐设备用速度可控液压油缸
有效
申请
2019-08-21
申请公布
1970-01-01
授权
2020-06-16
预估到期
2029-08-21
| 申请号 | CN201921357627.7 |
| 申请日 | 2019-08-21 |
| 授权公布号 | CN210769628U |
| 授权公告日 | 2020-06-16 |
| 分类号 | F15B15/14 |
| 分类 | 流体压力执行机构;一般液压技术和气动技术; |
| 申请人名称 | 连云港市亚桥机械制造有限公司 |
| 申请人地址 | 江苏省连云港市海州区洪门工业园区纬一路北侧经二路东侧 |
专利法律状态
2020-06-16
授权
状态信息
授权
摘要
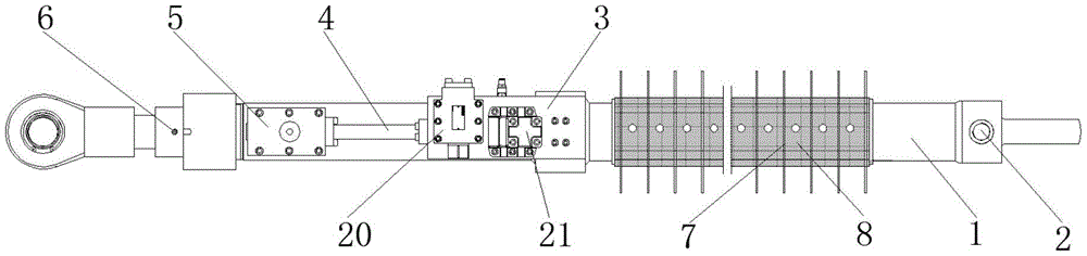
本实用新型公开了一种旋转塔游乐设备用速度可控液压油缸,包括缸体,所述缸体的一端面固定有第一铰接部,所述缸体的一侧表面包含有溢流口、阀块及调速阀,所述溢流口设置于缸体的一端,所述阀块与调速阀并排排列,所述阀块一侧表面包含有进出油口及单向控制油口,所述单向控制油口位于进出油口的外侧;通过设置有调速阀、溢流阀、液控单向阀、单向阀、溢流油管、进出油口及单向控制油口,便于对油缸活塞杆的运动速度进行调节控制,避免活塞杆在即将完全伸出缸体外侧时,速度过大对缸体造成碰撞损坏,通过设置有安装环套、散热片、限位螺孔、限位凸起及弹性弧部,便于避免缸体在工作时发热,不便于很好的对进行降温,影响设备的使用寿命。


