授权公布号:CN213044837U
一种折叠式鱼竿支架
有效
申请
2020-08-12
申请公布
1970-01-01
授权
2021-04-27
预估到期
2030-08-12
| 申请号 | CN202021675119.6 |
| 申请日 | 2020-08-12 |
| 授权公布号 | CN213044837U |
| 授权公告日 | 2021-04-27 |
| 分类号 | A01K97/10 |
| 分类 | 农业;林业;畜牧业;狩猎;诱捕;捕鱼; |
| 申请人名称 | 威海科尼渔具有限公司 |
| 申请人地址 | 山东省威海市环翠区北观村西二街-88-1号 |
专利法律状态
2021-04-27
授权
状态信息
授权
摘要
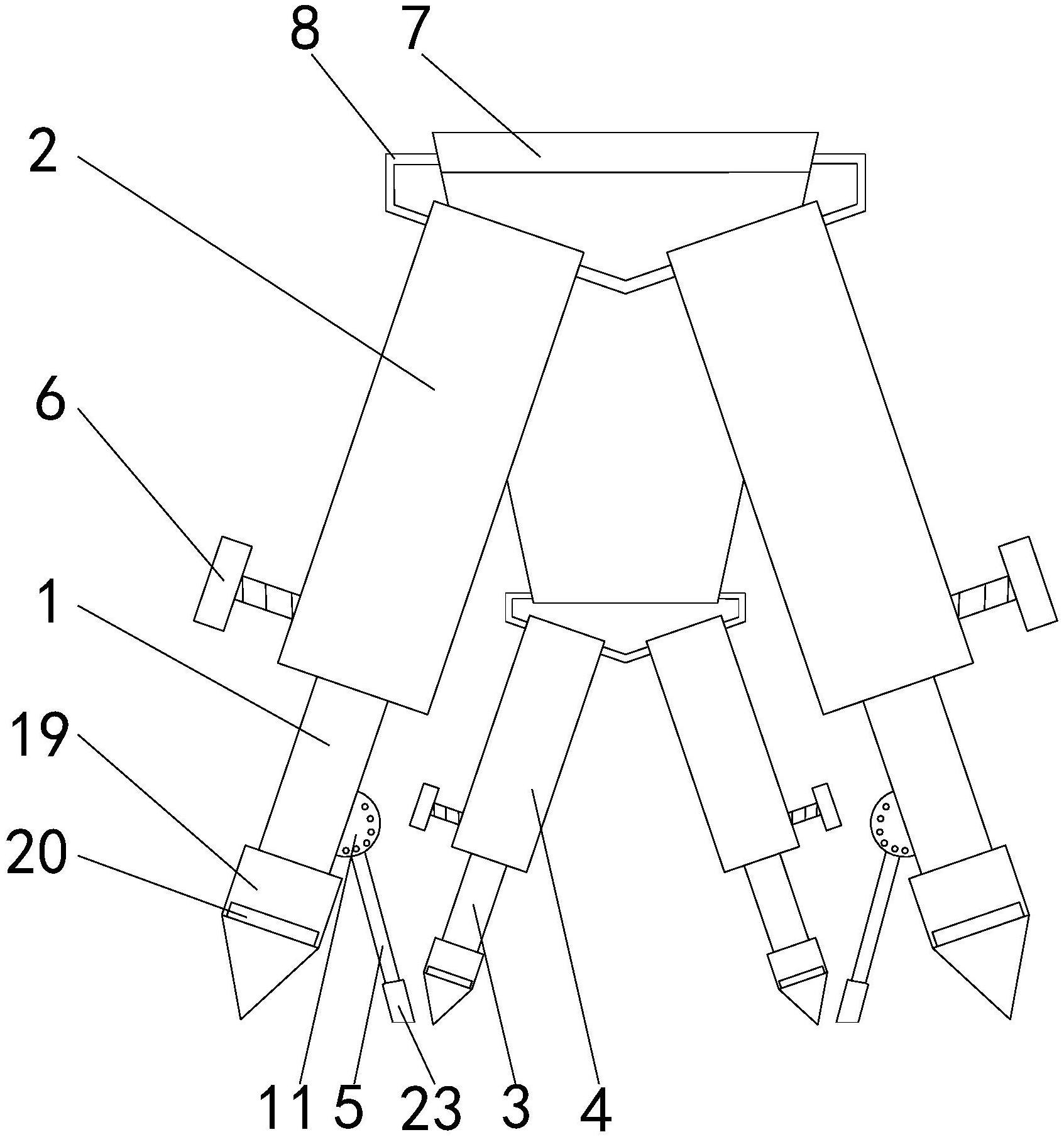
本实用新型公开了一种折叠式鱼竿支架,包括两组前下腿、两组前上腿、两组后下腿、两组后上腿、四组分支腿、四组紧固螺栓、横杆、两组三角连接架、鱼竿托和定位环,两组前上腿的顶端与横杆的前端分别与一组三角连接架的三边可转动连接,两组前上腿均设置有第一伸缩腔,两组前下腿的顶端分别插入两组第一伸缩腔,两组后上腿的顶端与横杆的后端分别与另一组三角连接架的三边可转动连接,两组后上腿均设置有第二伸缩腔,两组后下腿的顶端分别插入两组第二伸缩腔,两组前上腿和两组后上腿的下部的左侧壁均设置有紧固螺孔,四组紧固螺栓的右端分别穿过四组紧固螺孔。本实用新型,能够适用于各种地形,安装简单,携带方便,稳定性好。


