授权公布号:CN212279534U
一种可拆卸失手环的鱼竿后堵
有效
申请
2020-04-14
申请公布
1970-01-01
授权
2021-01-05
预估到期
2030-04-14
| 申请号 | CN202020552205.1 |
| 申请日 | 2020-04-14 |
| 授权公布号 | CN212279534U |
| 授权公告日 | 2021-01-05 |
| 分类号 | A01K87/00;A01K87/02 |
| 分类 | 农业;林业;畜牧业;狩猎;诱捕;捕鱼; |
| 申请人名称 | 威海科尼渔具有限公司 |
| 申请人地址 | 山东省威海市环翠区北观村西二街-88-1号 |
专利法律状态
2021-01-05
授权
状态信息
授权
摘要
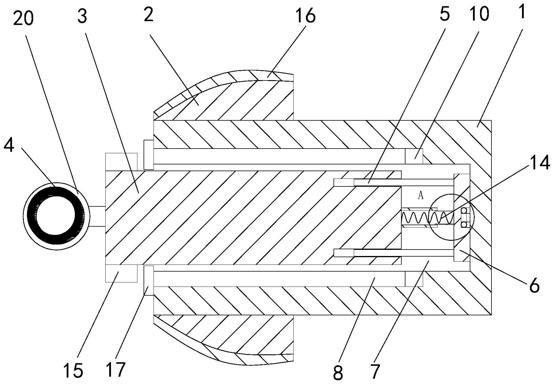
本实用新型涉及鱼竿配件的技术领域,特别是涉及一种可拆卸失手环的鱼竿后堵,能够将失手环自后堵上拆卸,便于更换失手环,遇特殊情况时便于将失手环与鱼竿分离,提高实用性;包括堵块、套盖、滑柱、环体、滑杆、压板、安装槽、定位柱、滚珠轴承和弹簧,滑柱右端自安装槽左端伸入至安装槽内,安装槽内顶端和底端均设置有滑槽,滑柱顶端和底端均对应设置有滑块,两组滑块分别与两组滑槽滑动连接,安装槽内设置有环槽,环槽与两组滑槽相连通,环槽前端和后端均设置有限位槽,定位柱安装于安装槽右端,滚珠轴承套设于定位柱上,压板右端中部设置有定位槽,滚珠轴承左端自定位槽右端伸入至定位槽内。


