授权公布号:CN217246691U
一种跷跷板玩具
有效
申请
2022-01-20
申请公布
1970-01-01
授权
2022-08-23
预估到期
2032-01-20
| 申请号 | CN202220151154.0 |
| 申请日 | 2022-01-20 |
| 授权公布号 | CN217246691U |
| 授权公告日 | 2022-08-23 |
| 分类号 | A63G11/00 |
| 分类 | 运动;游戏;娱乐活动; |
| 申请人名称 | 浙江新云木业集团有限公司 |
| 申请人地址 | 浙江省丽水市云和县凤凰山街道中山路380号 |
专利法律状态
2022-08-23
授权
状态信息
授权
摘要
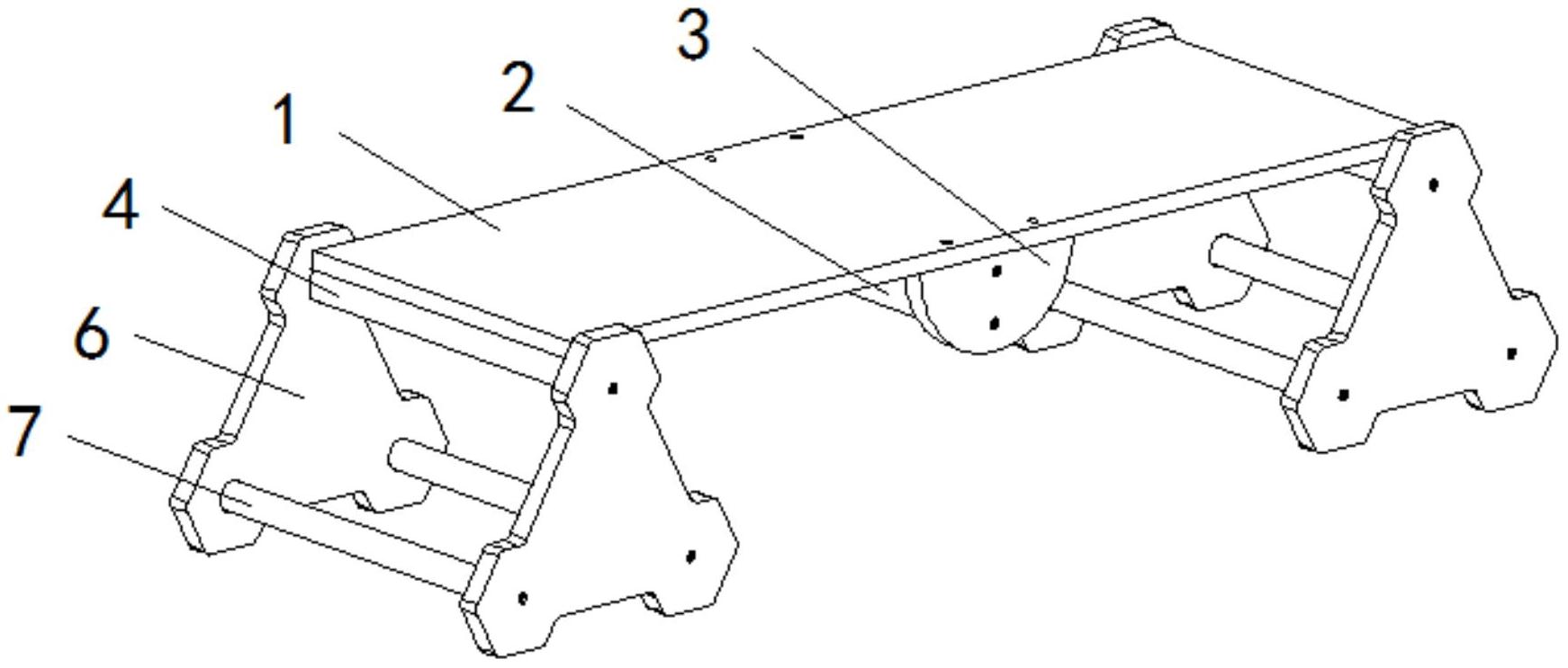
本实用新型公开了一种跷跷板玩具,包括翘板组件与两个固定组件,所述翘板组件位于两个所述固定组件的上方,所述翘板组件包括跷跷板体,所述跷跷板体的底部中心处设有中部支撑板,所述中部支撑板的两侧分别设有一个侧边支撑板,所述跷跷板体的底部两侧分别设有一个连接板,所述连接板的底部中心处设有卡槽,所述固定组件包括两个固定板,两个所述固定板之间通过若干个连接柱连接固定,所述卡槽卡在顶部的所述连接柱上。有益效果:在需要玩耍跷跷板时,使用者可以将两个固定组件取下,翘板组件底部的侧边支撑板与地面接触,孩童可以通过侧边支撑板的弧边的弧度来进行跷跷板玩耍。


