授权公布号:CN218247147U
一种安全饮水杯桶架
有效
申请
2022-09-08
申请公布
1970-01-01
授权
2023-01-10
预估到期
2032-09-08
| 申请号 | CN202222386861.0 |
| 申请日 | 2022-09-08 |
| 授权公布号 | CN218247147U |
| 授权公告日 | 2023-01-10 |
| 分类号 | A47L15/00;A47L15/42;A61L2/10 |
| 分类 | 家具;家庭用的物品或设备;咖啡磨;香料磨;一般吸尘器; |
| 申请人名称 | 河南新乐园科技有限公司 |
| 申请人地址 | 河南省周口市项城市工业集聚区东方大道 |
专利法律状态
2023-01-10
授权
状态信息
授权
摘要
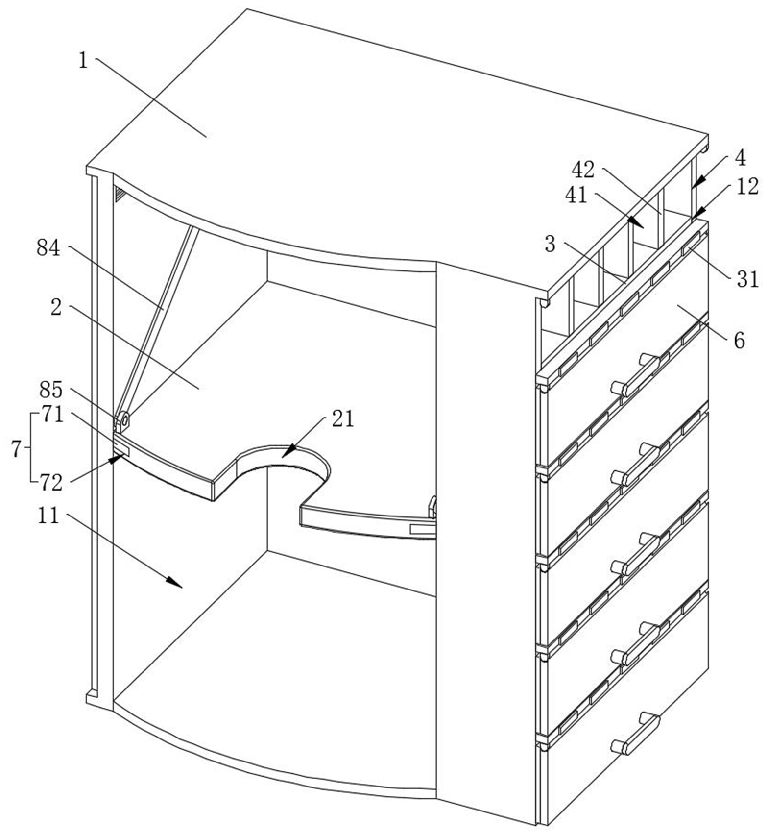
本实用新型涉及饮水杯桶架的技术领域,尤其是公开了一种安全饮水杯桶架,包括架体,架体上设有桶体腔和杯体腔,桶体腔位于杯体腔的一侧,桶体腔内通过承载板设置有供水装置,杯体腔内通过平行设置的承载隔板被分隔成多个独立腔,独立腔内通过分隔板被分隔成多个用于承载杯体的单体腔,独立腔内设有用于为杯体进行消毒的消毒组件,独立腔的腔口铰接有用于封闭独立腔的封门。本实用新型能够改善现有技术中茶杯杀菌消毒效果差、速度慢的问题。


