授权公布号:CN210854370U
一种纺织品堆叠用升降机构
有效
申请
2019-11-05
申请公布
1970-01-01
授权
2020-06-26
预估到期
2029-11-05
| 申请号 | CN201921888830.7 |
| 申请日 | 2019-11-05 |
| 授权公布号 | CN210854370U |
| 授权公告日 | 2020-06-26 |
| 分类号 | B65G57/03 |
| 分类 | 输送;包装;贮存;搬运薄的或细丝状材料; |
| 申请人名称 | 江西雅星纺织实业有限公司 |
| 申请人地址 | 江西省宜春市高安市新世纪工业城(祥符) |
专利法律状态
2020-06-26
授权
状态信息
授权
摘要
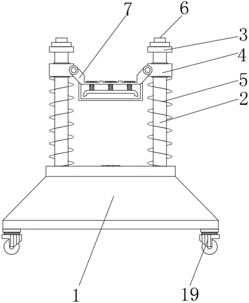
本实用新型公开了一种纺织品堆叠用升降机构,包括底座,所述底座的顶部固定连接有立柱,所述立柱的顶部固定连接有限位块,所述立柱滑动连接有滑块,所述滑块的底部固定连接有支撑弹簧,所述支撑弹簧与立柱套接,所述滑块通过支撑弹簧与底座固定连接,所述滑块的侧壁固定连接有托盘,所述托盘的顶部固定连接有底框,所述托盘的下方设置有拉板,所述拉板的顶部固定连接有滑动杆,本实用新型涉及纺织机械技术领域。该纺织品堆叠用升降机构,达到了根据托盘上衣服的增多,增加托盘上的重力,自动的向下运动,方便工人进行堆叠,无须爬高,且需要搬运时,操作升降开关,即可快速将堆叠好的衣服顶起,方便搬运,提高工作效率,方便使用的目的。


