授权公布号:CN115581950B
一种纺织污水循环利用处理系统
有效
申请
2022-11-15
申请公布
2023-01-10
授权
2023-10-17
预估到期
2042-11-15
| 申请号 | CN202211427568.2 |
| 申请日 | 2022-11-15 |
| 申请公布号 | CN115581950A |
| 申请公布日 | 2023-01-10 |
| 授权公布号 | CN115581950B |
| 授权公告日 | 2023-10-17 |
| 分类号 | B01D29/01;B01D29/64;B01D29/94 |
| 分类 | 一般的物理或化学的方法或装置; |
| 申请人名称 | 江西雅星纺织实业有限公司 |
| 申请人地址 | 江西省宜春市高安市新世纪工业城 |
专利法律状态
2023-10-17
授权
状态信息
授权
2023-01-31
实质审查的生效
状态信息
实质审查的生效;IPC(主分类):B01D29/01;申请日:20221115
2023-01-10
公布
状态信息
公布
摘要
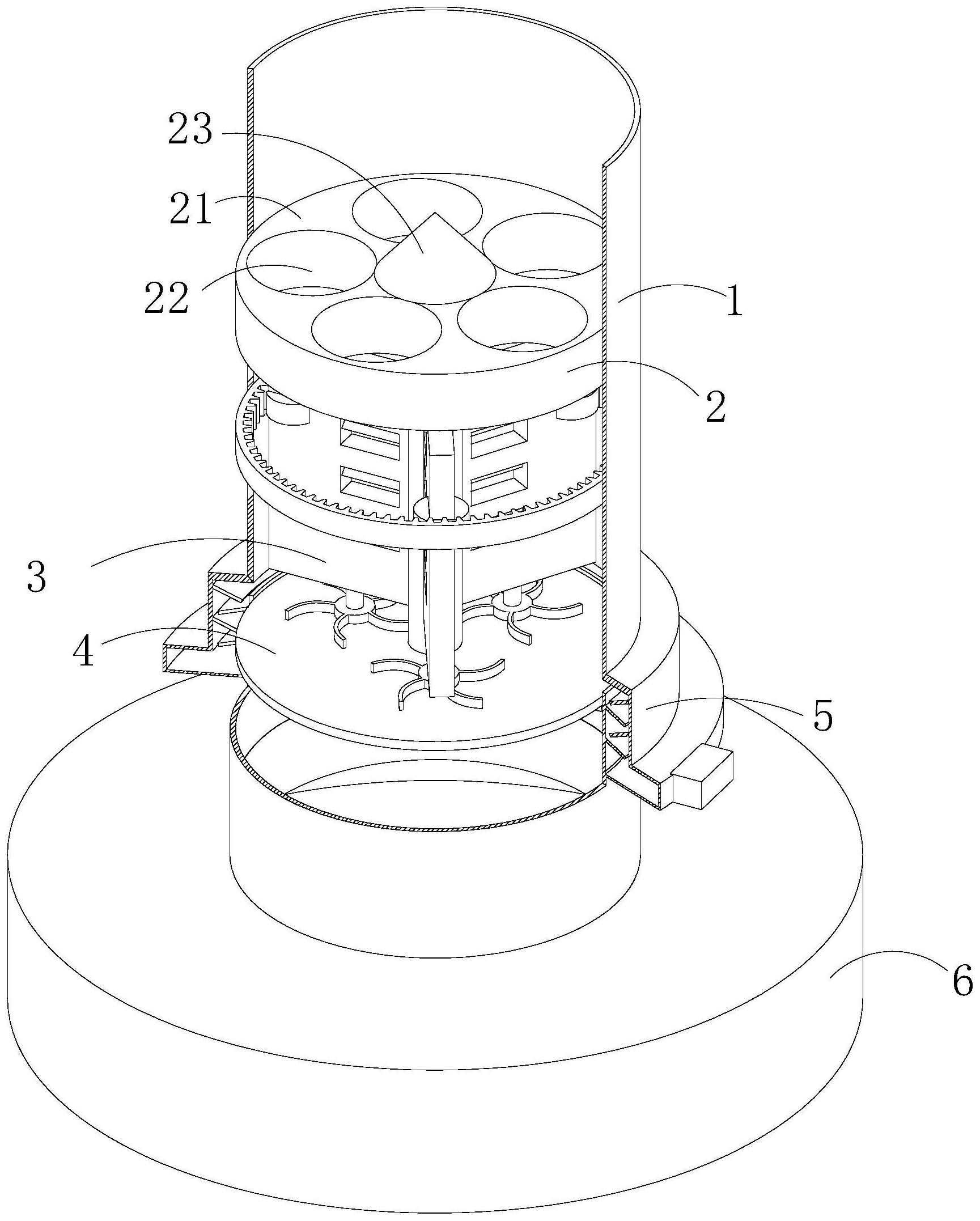
本发明涉及纺织污水处理技术领域,且公开了一种纺织污水循环利用处理系统,包括圆筒,所述圆筒内部安装有承载流通机构,所述承载流通机构下端设置有清理搅动机构,所述圆筒内壁且位于清理搅动机构下方固定安装有过滤板,所述过滤板外侧设置有杂质收集机构,所述圆筒下方设置有漂白箱。通过驱动马达带动转动轴柱与搅动扇板转动,再通过动力传动单元与圆筒内壁齿轮啮合,从而使杂质清理单元绕转动轴柱转动的同时再进行自转,从而对过滤板上端进行全方位清理,同时疏孔单元对过滤板内部过滤孔进行清理,避免过滤板内部堵塞的情况,从而达到对防止污水内部线头或绒毛进行高效过滤的效果。


