授权公布号:CN217729042U
一种用于竹凉席加工的自动切竹下料机
有效
申请
2022-01-27
申请公布
1970-01-01
授权
2022-11-04
预估到期
2032-01-27
| 申请号 | CN202220231143.3 |
| 申请日 | 2022-01-27 |
| 授权公布号 | CN217729042U |
| 授权公告日 | 2022-11-04 |
| 分类号 | B27C5/02;B27C5/06;B27J1/00 |
| 分类 | 木材或类似材料的加工或保存;一般钉钉机或钉U形钉机; |
| 申请人名称 | 湖南天缘竹业发展有限公司 |
| 申请人地址 | 湖南省益阳市高新区谢林港镇北峰山村 |
专利法律状态
2022-11-04
授权
状态信息
授权
摘要
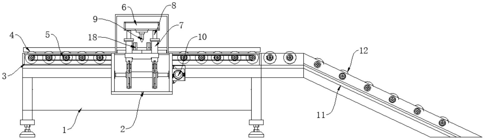
本实用新型公开了一种用于竹凉席加工的自动切竹下料机,包括底部机体,底部机体顶部的中心位置固定有切断机,切断机外部固定有第一旋转驱动件,切断机内部通过轴固定有连接件,两个连接件上通过轴活动设置有连杆,连接件的一端通过轴连接有传动件,传动件的顶部通过轴连接有第一活动杆,第一活动杆的顶部固定有顶部刀台,顶部刀台的底部的中心位置固定有切断刀。本实用新型通过启动第一旋转驱动件,第一旋转驱动件就会通过轴使连接件转动,连接件就会使传动件移动,传动件就会使套筒进行移动,套筒就会在第一活动杆中移动,从而使顶部刀台带动切断刀下移,从而对竹子进行切割,实用性强。


