授权公布号:CN216384578U
一种水暖主机的新型加热装置
有效
申请
2021-08-23
申请公布
1970-01-01
授权
2022-04-26
预估到期
2031-08-23
| 申请号 | CN202121986157.8 |
| 申请日 | 2021-08-23 |
| 授权公布号 | CN216384578U |
| 授权公告日 | 2022-04-26 |
| 分类号 | F24H1/22;F24H9/00;F24H9/20;F24D19/00;F24D19/10 |
| 分类 | 供热;炉灶;通风; |
| 申请人名称 | 青岛泰和美电子科技有限公司 |
| 申请人地址 | 山东省青岛市城阳区成康路198号 |
专利法律状态
2022-04-26
授权
状态信息
授权
摘要
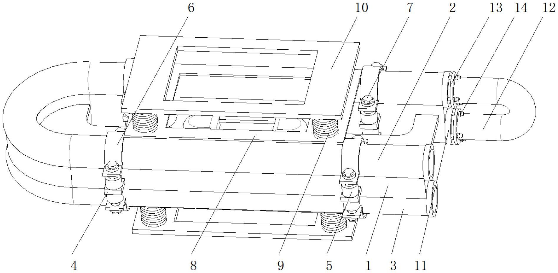
本实用新型涉及加热器技术领域,且公开了一种水暖主机的新型加热装置,包括加热丝,所述加热丝的上部活动套接有加热U形管道一,所述加热丝的下部活动套接有加热U形管道二,所述加热丝外侧的中部安装有外侧连接板,所述外侧连接板的上部固定连接有螺纹夹套,所述加热U形管道一的上部活动套接有紧固夹套。该水暖主机的新型加热装置,通过将电阻置换调节器的外侧连接有电源,同时经过连接线带动电源传输至电源连接器的内部,同时经过替换电源连接器内部的电阻,从而可对加热功率进行调节,可依据加热主机水箱大小、外观需求、功率要求进行调整,从而起到减小加热时出现衰减进行防护,有效的解决了传统加热衰减的问题。


