授权公布号:CN210107107U
可精准对位的多色灯手电筒
有效
申请
2019-08-20
申请公布
1970-01-01
授权
2020-02-21
预估到期
2029-08-20
| 申请号 | CN201921368794.1 |
| 申请日 | 2019-08-20 |
| 授权公布号 | CN210107107U |
| 授权公告日 | 2020-02-21 |
| 分类号 | F21L4/02;F21V19/02;F21Y115/10 |
| 分类 | 照明; |
| 申请人名称 | 深圳市光中道电子有限公司 |
| 申请人地址 | 广东省深圳市宝安区福永街道塘尾社区建安路正昌达数码科技园A栋第一层F |
专利法律状态
2020-02-21
授权
状态信息
授权
摘要
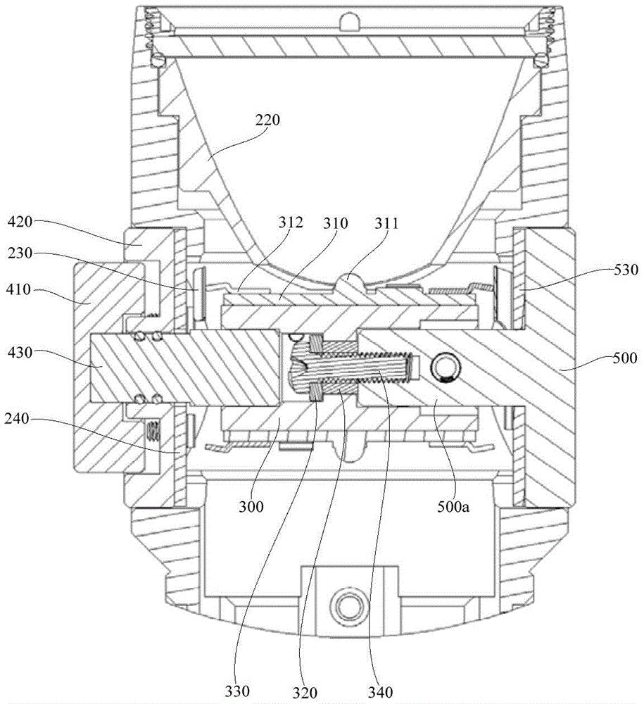
本实用新型公开了一种可精准对位的多色灯手电筒,可以实现不同的灯珠与手电筒的光学组件的精准对位,提高多色手电的发光效果。具体地,该多色灯手电筒包括同轴连接的筒体与灯头。灯头内设有光学组件,光学组件的入光侧设有可旋转的灯座,灯座的轴心线与光学组件轴心线相交。灯座外周壁上设有若干其轴向平行的LED驱动板,该LED驱动板与灯头内的固定导电弹片通过导电接触片电连接。灯座的两端分别设有旋转座和固定座,固定座与灯座之间设有卡位结构,灯座转动一定角度时,灯座与固定座相互卡合。


