授权公布号:CN215215801U
可快速更换电芯的户外手电筒
有效
申请
2021-06-28
申请公布
1970-01-01
授权
2021-12-17
预估到期
2031-06-28
| 申请号 | CN202121443561.0 |
| 申请日 | 2021-06-28 |
| 授权公布号 | CN215215801U |
| 授权公告日 | 2021-12-17 |
| 分类号 | F21L4/00;F21V19/00;F21V17/12;F21V23/06;F21V15/01;F21V5/04;F21V14/06;F21V17/02;H01M50/244;H01M50/247;H01M50/559 |
| 分类 | 照明; |
| 申请人名称 | 深圳市光中道电子有限公司 |
| 申请人地址 | 广东省深圳市宝安区新安街道兴东社区71区教育工业大厦3层 |
专利法律状态
2021-12-17
授权
状态信息
授权
摘要
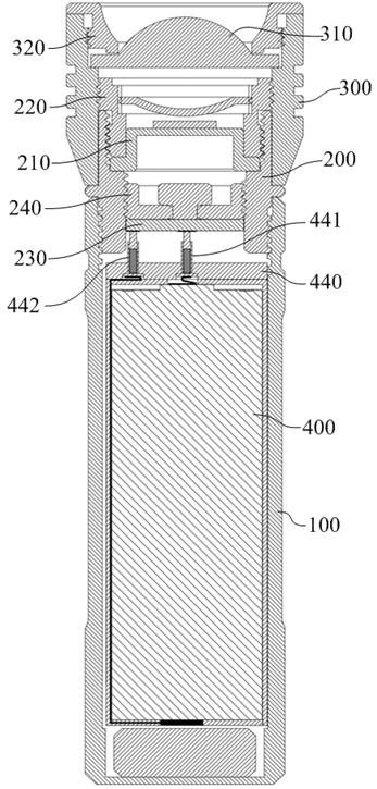
本实用新型公开了一种可快速更换电芯的户外手电筒,包括螺纹连接的筒身和灯座,灯座的腔体下部设置有转接板,该转接板的底面设置与灯板电连接的第一接触片和第二接触片,第一接触片位于转接板的中心,第二接触片呈环形且与第一接触片同心设置。筒身内设置有电池单元,该电池单元的上端面设置有正负极引出板,正负极引出板上设置有与电池单元的正极连接的正极弹针和与电池单元的负极连接的负极弹针,正极弹针的针头与第一接触片接触电连接,负极弹针的针头与第二接触片接触电连接。本实用新型能够实现电池单元与灯座的可分离电连接,使得电池单元能够自筒身内快速取出进行更换,能够有效解决可充电手电筒电池难以更换的问题。


