授权公布号:CN212856383U
一种高效透气防霉装饰布制造装置
有效
申请
2020-07-10
申请公布
1970-01-01
授权
2021-04-02
预估到期
2030-07-10
| 申请号 | CN202021350954.2 |
| 申请日 | 2020-07-10 |
| 授权公布号 | CN212856383U |
| 授权公告日 | 2021-04-02 |
| 分类号 | B05C1/08;B05C13/02 |
| 分类 | 一般喷射或雾化;对表面涂覆液体或其他流体的一般方法〔2〕; |
| 申请人名称 | 浙江布言布语纺织科技有限公司 |
| 申请人地址 | 浙江省杭州市余杭区东湖街道临平大道633号4幢1层 |
专利法律状态
2021-04-02
授权
状态信息
授权
摘要
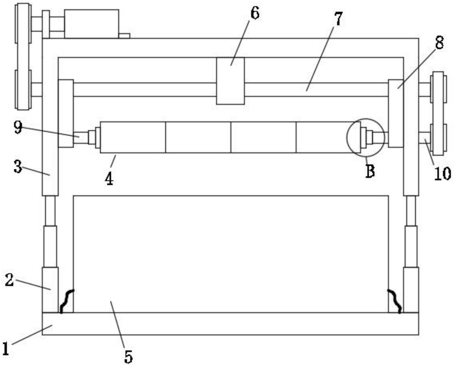
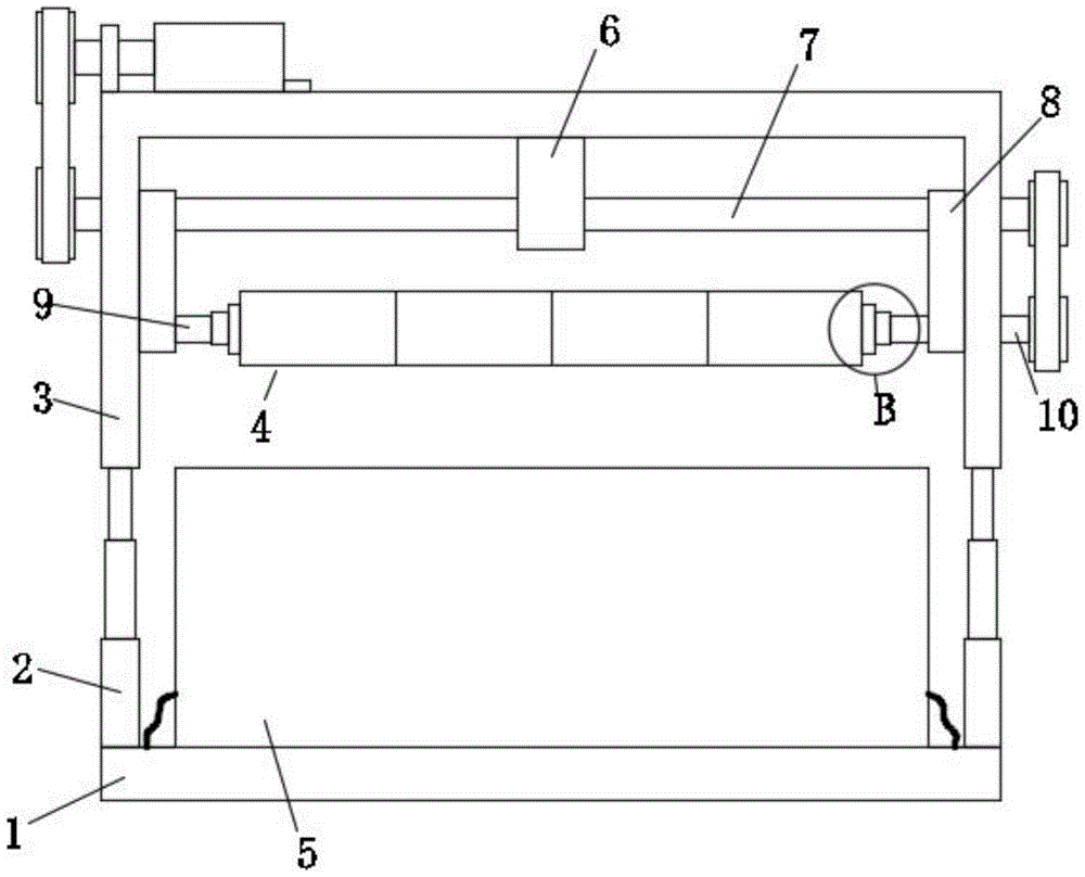
一种高效透气防霉装饰布制造装置,属于纺织布处理装置技术领域,包括底板和上机架,底板的上端面四周均设置有升降轴,升降轴的上端面均和上机架的下端面固定连接,且上机架的下端面开设有安装腔,安装腔内设置有上端臂固设有悬挂梁,悬挂梁的下端套接有双向螺纹轴,双向螺纹轴的左右两端均螺纹连接有安装板,左右间隔设置的安装板之间设置有可拆卸式的涂抹组件,且双向螺纹轴左右两端均连接有传动机构;本装置结构简单紧凑,通过液压系统实现工作过程中的可控性和稳定性,增强产品的生产质量,同时,采用可拆卸式的连接方式和螺纹传动实现对不同大小装饰布处理,增强装置的适用范围。


