授权公布号:CN107104636B
凹缘集线式太阳能电池模块及其组成的阵列
有效
申请
2016-06-13
申请公布
2017-08-29
授权
2019-02-12
预估到期
2036-06-13
| 申请号 | CN201610414910.3 |
| 申请日 | 2016-06-13 |
| 申请公布号 | CN107104636A |
| 申请公布日 | 2017-08-29 |
| 授权公布号 | CN107104636B |
| 授权公告日 | 2019-02-12 |
| 分类号 | H02S40/34;H02S40/36 |
| 分类 | 发电、变电或配电; |
| 申请人名称 | 新日光能源科技股份有限公司 |
| 申请人地址 | 中国台湾新竹市 |
专利法律状态
2019-02-12
授权
状态信息
授权
2017-09-22
实质审查的生效
状态信息
实质审查的生效;IPC(主分类):H02S40/34;申请日:20160613
2017-08-29
公布
状态信息
公布
摘要
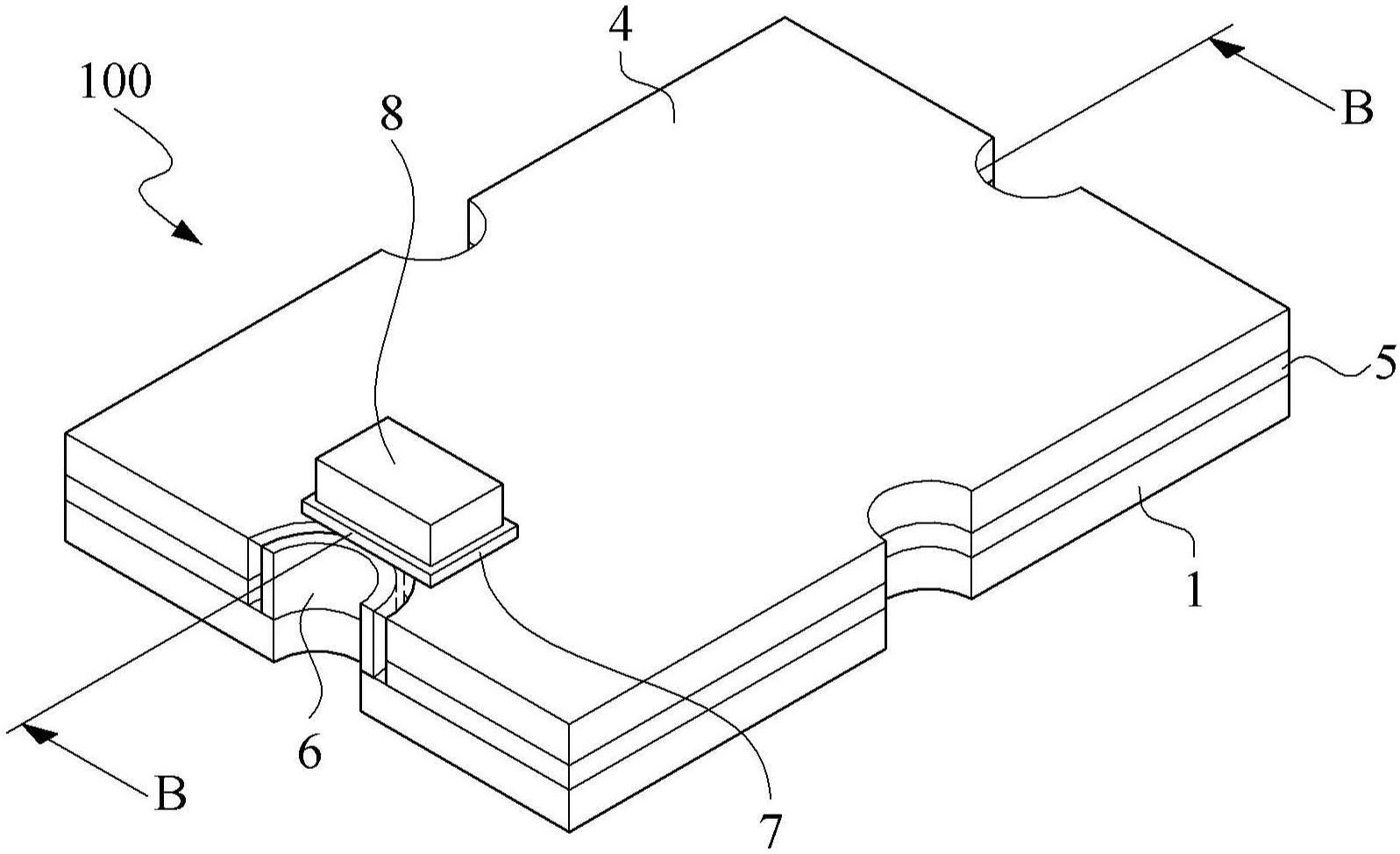
本发明公开一种凹缘集线式太阳能电池模块及其组成的阵列,凹缘集线式太阳能电池模块包含一第一基板、多个太阳能电池、多条汇流条、一第二基板、一绝缘单元及一集线盒。其中,第二基板与第一基板夹合太阳能电池,且第一基板的第一基板内侧面在第一基板的第一侧边凹缘与第二基板的第二侧边凹缘之间外露出一集线区,而绝缘单元设置于集线区,并与第二侧边凹缘及集线区围构出一集线空间,以供汇流条延伸至第二基板外侧面,并电性连结于集线盒。凹缘集线式太阳能电池模块阵列由多个凹缘集线式太阳能电池模块并接而成,且第一侧边凹缘及绝缘单元会与相邻的凹缘集线式太阳能电池形成一散热通道。


