授权公布号:CN116921970B
光伏电池互联压具及串焊机
有效
申请
2023-09-12
申请公布
2023-10-24
授权
2024-03-01
预估到期
2043-09-12
| 申请号 | CN202311168389.6 |
| 申请日 | 2023-09-12 |
| 申请公布号 | CN116921970A |
| 申请公布日 | 2023-10-24 |
| 授权公布号 | CN116921970B |
| 授权公告日 | 2024-03-01 |
| 分类号 | B23K37/04;B23K37/00 |
| 分类 | 机床;不包含在其他类目中的金属加工; |
| 申请人名称 | 天合光能股份有限公司 |
| 申请人地址 | 江苏省常州市新北区天合光伏产业园天合路2号 |
专利法律状态
2024-03-01
授权
状态信息
授权
2023-11-10
实质审查的生效
状态信息
实质审查的生效;IPC(主分类):B23K37/04;申请日:20230912
2023-10-24
公布
状态信息
公布
摘要
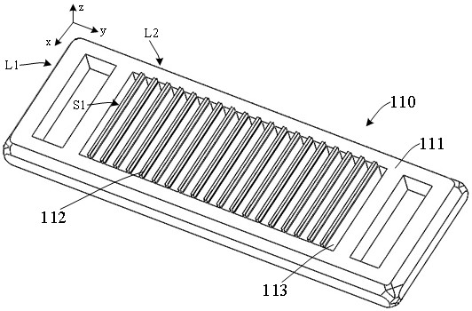
本发明提供了一种光伏电池互联压具及串焊机,其中光伏电池互联压具包括一压板和若干下压件,若干下压件以相同间隔设置在压板上,每个下压件用于压住光伏电池片上单根互联条,每个下压件在光伏电池片上投影区的宽度大于单根互联条的宽度,且每个下压件长度方向与所压住的互联条长度方向一致;压板具有镂空区,镂空区为下压件之间的间隔区投影在压板上的区域。本发明中光伏电池互联压具有效降低光伏电池片在焊接过程中接收的热量经压具传导而耗散,提升了光伏电池片焊接区域的温度均匀性,也降低了焊接能耗。


