授权公布号:CN220586224U
光伏组件系统和光伏屋顶
有效
申请
2023-07-24
申请公布
1970-01-01
授权
2024-03-12
预估到期
2033-07-24
| 申请号 | CN202321954444.X |
| 申请日 | 2023-07-24 |
| 授权公布号 | CN220586224U |
| 授权公告日 | 2024-03-12 |
| 分类号 | H02S40/00;H02S30/10;E04D13/18;E04D13/04 |
| 分类 | 发电、变电或配电; |
| 申请人名称 | 天合光能股份有限公司 |
| 申请人地址 | 江苏省常州市新北区天合光伏产业园天合路2号 |
专利法律状态
2024-03-12
授权
状态信息
授权
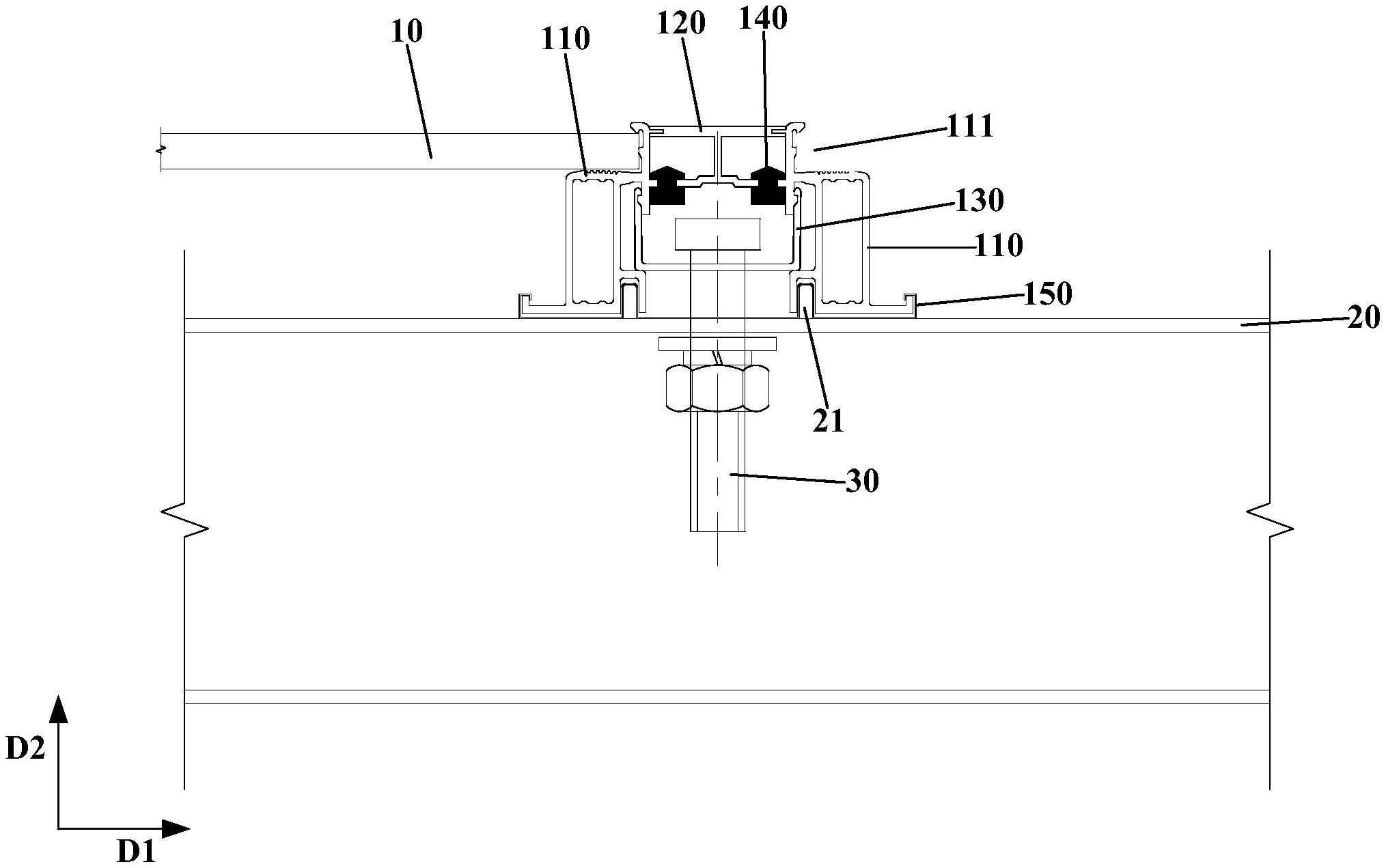
摘要
本申请提供一种光伏组件系统和光伏屋顶。该光伏组件系统包括:组件边框,具有容纳部和压板,容纳部用于连接层压件,压板与组件边框的支撑壁连接,且沿第一方向延伸;盖板,设置于沿第一方向相邻的组件边框之间以覆盖相邻组件边框之间的间隙;压块,压块与压板压接以固定组件边框。光伏组件系统和光伏屋顶使用挡水板和盖板构成光伏组件系统的双重防水设计,提高了光伏组件系统的防水可靠性。此外,挡水板为板状结构,具有易加工和成本低的优势。


