授权公布号:CN208381788U
一种远射程的透光灯具
有效
申请
2018-06-28
申请公布
1970-01-01
授权
2019-01-15
预估到期
2028-06-28
| 申请号 | CN201821006426.8 |
| 申请日 | 2018-06-28 |
| 授权公布号 | CN208381788U |
| 授权公告日 | 2019-01-15 |
| 分类号 | F21K9/20;F21V19/04;B08B1/04 |
| 分类 | 照明; |
| 申请人名称 | 江苏华辉照明科技股份有限公司 |
| 申请人地址 | 江苏省泰州市泰兴市虹桥工业园区四通路 |
专利法律状态
2019-01-15
授权
状态信息
授权
摘要
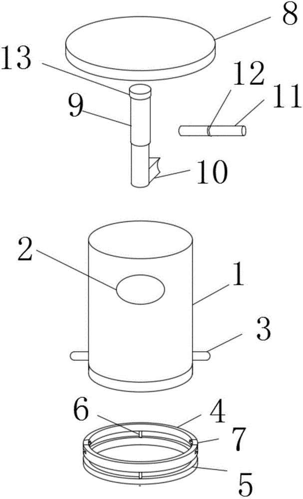
本实用新型公开了一种远射程的透光灯具,包括远射程透光灯具和透光罩,远射程透光灯具侧壁上固定连接有透光罩,远射程透光灯具的下方固定连接有限位柱,限位柱活动连接在环孔中,环孔设置在底环座上,环孔内固定连接有两个支撑柱,底环座上端开设有凹槽,凹槽内对应连接有挡块;该装置通过在灯具上方设置的圆板及伸缩杆结构,由电机驱动滑板及伸缩杆的配合运动,能在每一次不使用灯具的时候进行对灯具的清理,避免蚊虫堆积时间过长不易清扫,为清扫人员带来了极大的便捷;通过挡块在底环座的设置,灯具可拆卸连接在底环座上,方便了工人日常的检修及更换灯具。


