授权公布号:CN215982269U
一种工程配光灯具
有效
申请
2021-09-01
申请公布
1970-01-01
授权
2022-03-08
预估到期
2031-09-01
| 申请号 | CN202122093323.8 |
| 申请日 | 2021-09-01 |
| 授权公布号 | CN215982269U |
| 授权公告日 | 2022-03-08 |
| 分类号 | F21S8/08;F21V29/61;F21V33/00;F21V15/00;F21Y115/10N |
| 分类 | 照明; |
| 申请人名称 | 江苏华辉照明科技股份有限公司 |
| 申请人地址 | 江苏省泰州市泰兴市虹桥工业园区四通路 |
专利法律状态
2022-03-08
授权
状态信息
授权
摘要
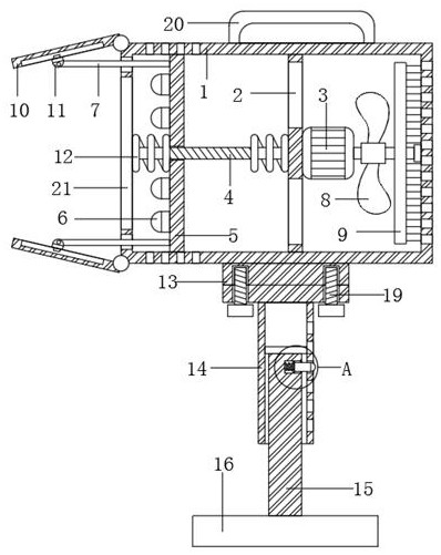
本实用新型公开了一种工程配光灯具,涉及一种灯具技术领域,针对了现有配光灯具散热差,收纳易损坏,使用寿命短的问题,现提出如下方案,包括壳体和固定套杆,所述壳体的内部固定连接有固定板,所述固定板的右侧固定连接有双轴电机,所述双轴电机的左侧输出轴固定连接有螺纹杆,所述螺纹杆的两端分别设有限位机构,所述螺纹杆上螺纹套设有放置面板,所述放置面板的左侧阵列有多个LED灯,所述放置面板的左侧上下两端分别固定连接有牵引杆,所述双轴电机的右侧输出轴固定连接有短轴。本实用新型不仅可以对壳体内部进行散热处理,同时可以对进风口进行清理处理,同时可以通过防护板对钢化玻璃面进行保护,有效提高了灯具的使用效果和使用寿命。


