授权公布号:CN216712314U
一种羽绒原料除尘设备
有效
申请
2021-12-15
申请公布
1970-01-01
授权
2022-06-10
预估到期
2031-12-15
| 申请号 | CN202123152518.1 |
| 申请日 | 2021-12-15 |
| 授权公布号 | CN216712314U |
| 授权公告日 | 2022-06-10 |
| 分类号 | D01B3/02 |
| 分类 | 天然或人造的线或纤维;纺纱或纺丝; |
| 申请人名称 | 六安市海洋羽毛有限公司 |
| 申请人地址 | 安徽省六安市经济技术开发区 |
专利法律状态
2022-06-10
授权
状态信息
授权
摘要
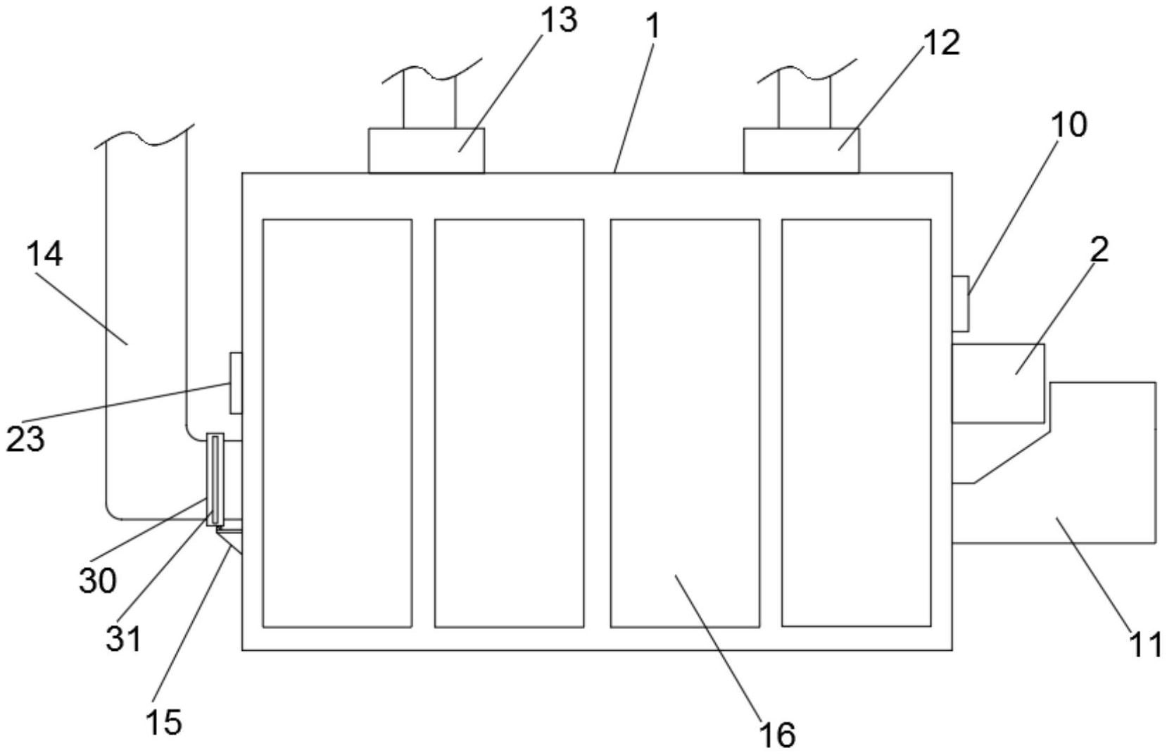
本实用新型公开了一种羽绒原料除尘设备,包括箱体和控制面板,箱体内安装有筛网,箱体的右侧安装有电机,电机与控制面板电连接,电机的转轴上连接有穿过箱体和筛网的支撑杆,支撑杆的顶端通过轴承座安装于箱体的左侧,使支撑杆能够在电机的驱动下在筛网内部转动,筛网内的支撑杆表面上设有若干个支杆,支杆不与筛网接触,箱体的顶部设有与控制面板电连接的引风机和排风机,引风机与筛网内部连通,排风机与筛网和箱体之间的空间连通,支撑杆下方的筛网左端设有排料口,排料口与箱体上安装的排料管连接,支撑杆下方的筛网右端设有进料口,进料口与箱体上安装的进料斗连接,本实用新型克服了现有技术的不足,设备除尘效果好,便于使用。


