授权公布号:CN216947294U
一种羽绒清洗机用排水池
有效
申请
2021-12-27
申请公布
1970-01-01
授权
2022-07-12
预估到期
2031-12-27
| 申请号 | CN202123311964.2 |
| 申请日 | 2021-12-27 |
| 授权公布号 | CN216947294U |
| 授权公告日 | 2022-07-12 |
| 分类号 | D01B3/10 |
| 分类 | 天然或人造的线或纤维;纺纱或纺丝; |
| 申请人名称 | 六安市海洋羽毛有限公司 |
| 申请人地址 | 安徽省六安市经济技术开发区 |
专利法律状态
2022-07-12
授权
状态信息
授权
摘要
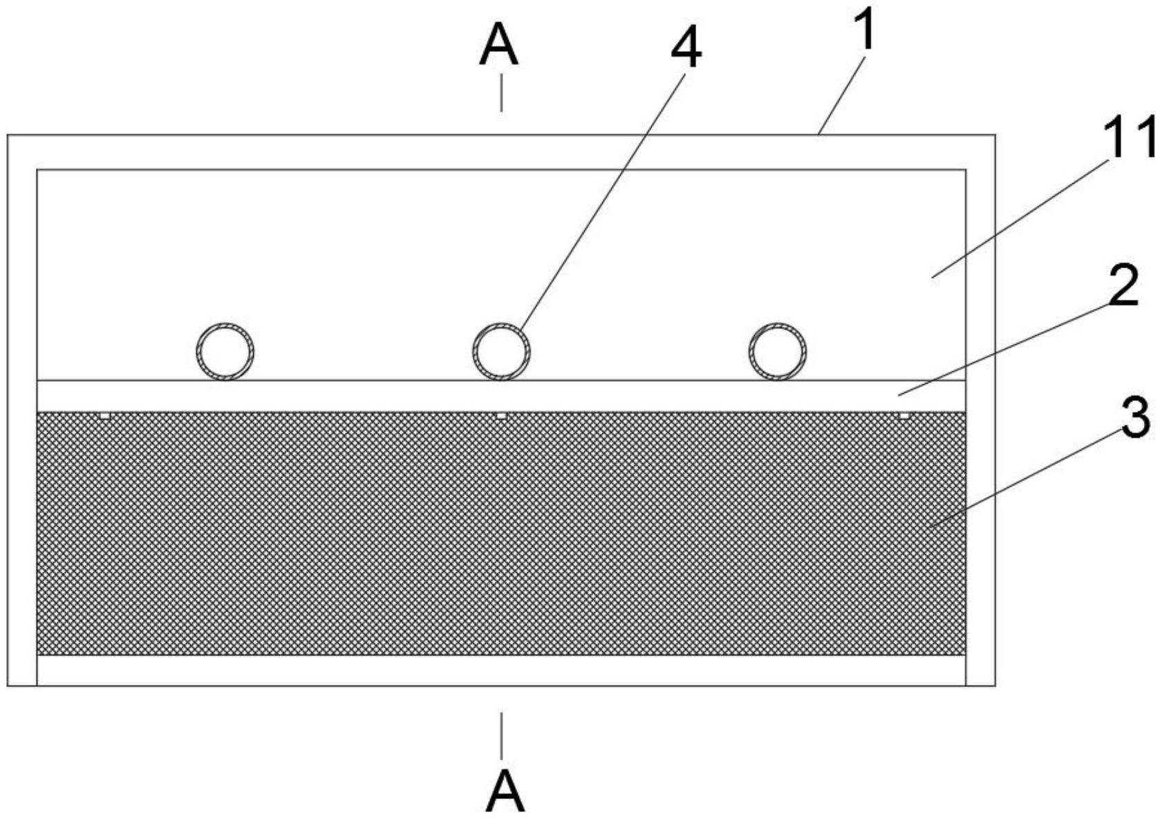
本实用新型公开了一种羽绒清洗机用排水池,包括水池,所述水池中部设有将水池分割成第一池体和第二池体的隔板,所述隔板的高度小于水池两侧边沿及第一池体后部边沿的高度的高度,所述隔板的底部设有若干个将第一池体和第二池体底部连通的排水孔,说第二池体的底部设有排水口,所述排水口处的第二池体内设有将排水口遮挡的筛网,本实用新型克服了现有技术的不足,有效的避免了水流对筛网冲击强度大的问题,且能够有效的对洗涤液内的羽绒原料进行过滤回收。


