授权公布号:CN216712467U
一种双路羽绒供应装置
有效
申请
2021-12-15
申请公布
1970-01-01
授权
2022-06-10
预估到期
2031-12-15
| 申请号 | CN202123152520.9 |
| 申请日 | 2021-12-15 |
| 授权公布号 | CN216712467U |
| 授权公告日 | 2022-06-10 |
| 分类号 | D06B23/04;D06B3/02 |
| 分类 | 织物等的处理;洗涤;其他类不包括的柔性材料; |
| 申请人名称 | 六安市海洋羽毛有限公司 |
| 申请人地址 | 安徽省六安市经济技术开发区 |
专利法律状态
2022-06-10
授权
状态信息
授权
摘要
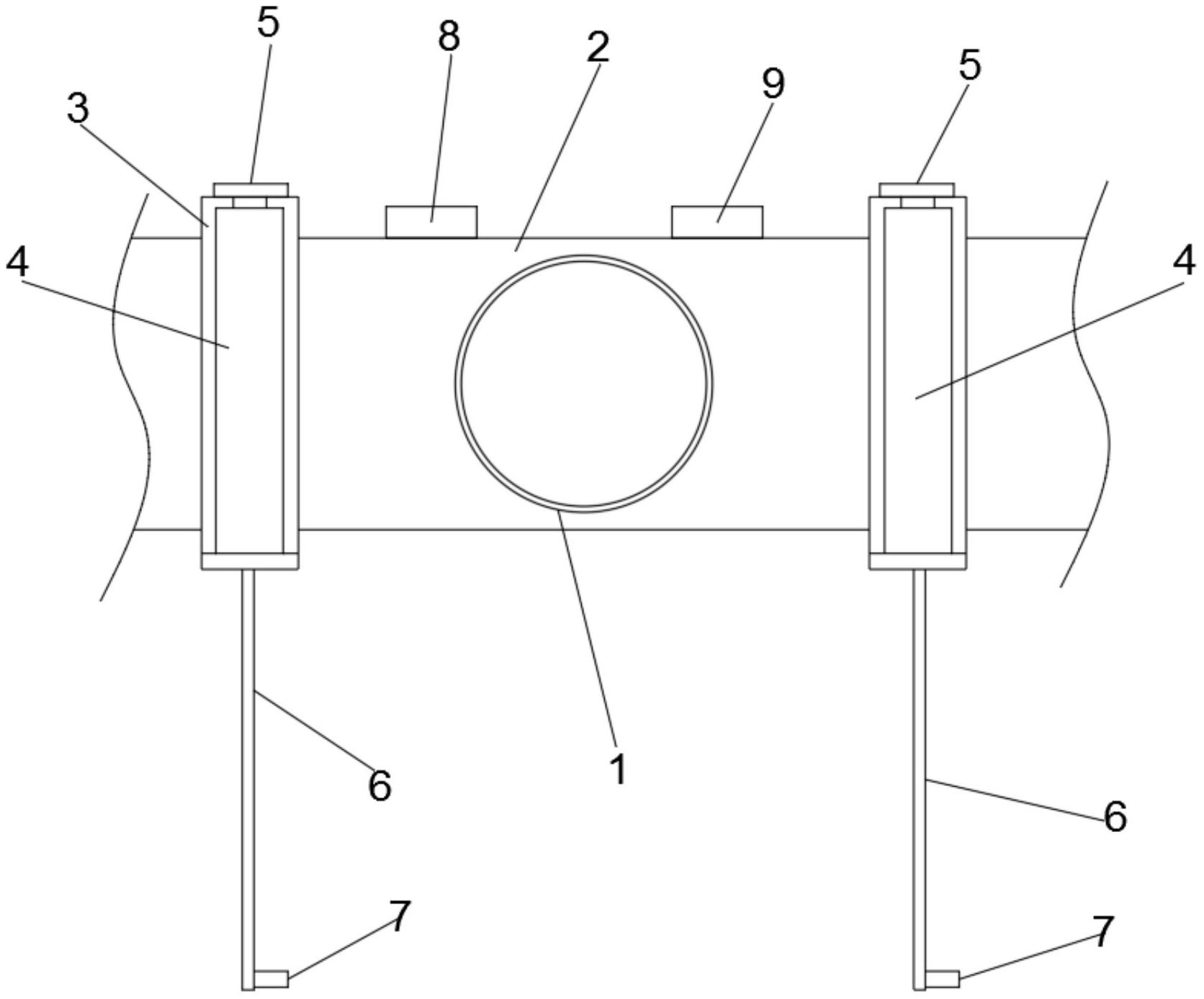
本实用新型公开了一种双路羽绒供应装置,包括进料管和排料管,进料管安装于排料管的中部,进料管两侧的排料管上分别安装有一个启闭装置,启闭装置包括分隔板,分隔板贯穿排料管,且其两侧面与其两侧的排料管固定连接,分隔板上设有将其两侧的排料管连通的圆孔,圆孔的内径等于排料管的内径,分隔板上设有至其顶部贯穿至其底部的滑孔,滑孔的宽度大于圆孔的内径,滑孔内插接有插板,插板的宽度大于圆孔的内径,插板的下部设有圆形开孔,使插板在滑孔内上下移动,能够实现对圆孔的开启和关闭,本实用新型克服了现有技术的不足,该装置能够通过第一控制器和第二控制器分别对两个启闭装置进行控制,实现分别送料和单独送料,使该装置使用方便。


