授权公布号:CN216393704U
一种护颈枕
有效
申请
2021-11-18
申请公布
1970-01-01
授权
2022-04-29
预估到期
2031-11-18
| 申请号 | CN202122830758.6 |
| 申请日 | 2021-11-18 |
| 授权公布号 | CN216393704U |
| 授权公告日 | 2022-04-29 |
| 分类号 | A47G9/10 |
| 分类 | 家具;家庭用的物品或设备;咖啡磨;香料磨;一般吸尘器; |
| 申请人名称 | 六安市海洋羽毛有限公司 |
| 申请人地址 | 安徽省六安市经济技术开发区 |
专利法律状态
2022-04-29
授权
状态信息
授权
摘要
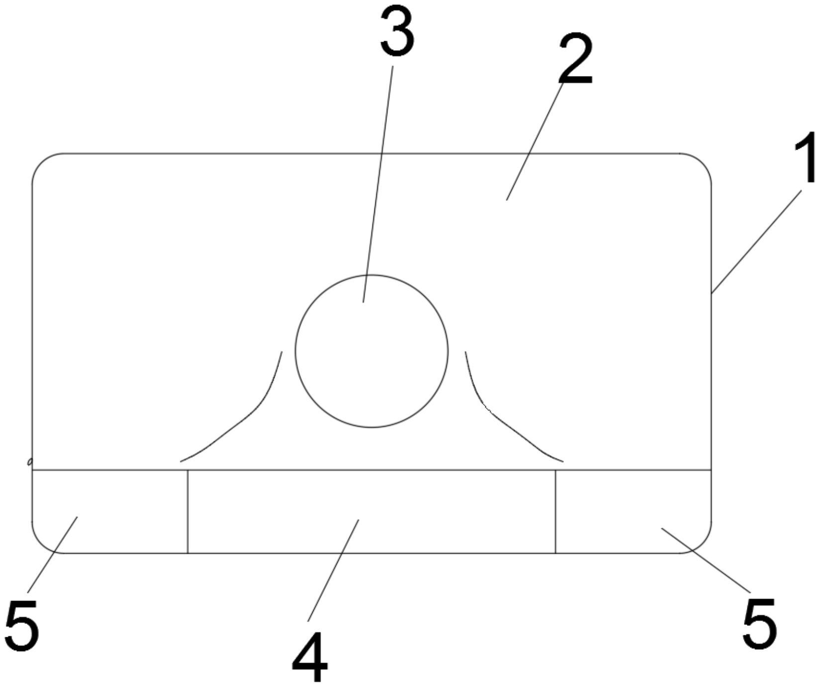
本实用新型公开了一种护颈枕,包括头枕部和颈枕部,所述头枕部位于颈枕部的后部,且头枕部与颈枕部的后端边沿固定连接,形成婴儿枕,所述头枕部的高度大于颈枕部,且头枕部的中部设有圆形头垫,所述头垫的高度小于头枕部的高度,且头垫和头枕部内填充有纤维枕芯;所述颈枕部包括支撑部和调整部,所述调整部设置于支撑部的两端,所述支撑部和调整部内填充有塑胶软管,本实用新型克服了现有技术的不足,使该护颈枕能够适应不同曲度的颈椎,提高了该护颈枕的实用性。


