授权公布号:CN205062239U
一种具有快速升降功能的蚕丝负压高效浸润装置
有效
申请
2015-09-30
申请公布
1970-01-01
授权
2016-03-02
预估到期
2025-09-30
| 申请号 | CN201520766022.9 |
| 申请日 | 2015-09-30 |
| 授权公布号 | CN205062239U |
| 授权公告日 | 2016-03-02 |
| 分类号 | D01B7/04 |
| 分类 | 天然或人造的线或纤维;纺纱或纺丝; |
| 申请人名称 | 云南皇正实业集团有限公司 |
| 申请人地址 | 云南省大理白族自治州祥云县祥城镇清红路北段 |
专利法律状态
2016-05-11
专利权人的姓名或者名称、地址的变更
状态信息
专利权人的姓名或者名称、地址的变更;IPC(主分类):D01B7/04;变更事项:专利权人;变更前:祥云县银龙茧丝绸集团有限公司;变更后:云南皇正实业集团有限公司;变更事项:地址;变更前:672100 云南省大理白族自治州祥云县祥城镇清红路瓦窑村169号;变更后:672100 云南省大理白族自治州祥云县祥城镇清红路北段
2016-03-02
授权
状态信息
授权
摘要
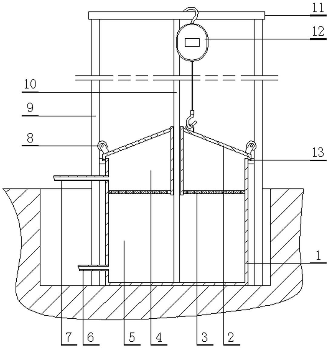
本实用新型公开了一种具有快速升降功能的蚕丝负压高效浸润装置,包括罐体、密封盖、孔板、立柱、导向杆、横梁及电箶芦,所述的罐体为桶状容器,其罐身沉入地面放置,其顶端设置密封盖,其上部设置孔板,其底部中心处设置导向杆,并贯穿密封盖及孔板的中心,所述的立柱设置于罐体外部,其顶端设置横梁和电箶芦。本实用新型采用在罐体中部设置导向杆,并贯穿密封盖及孔板的中心,在外部设置立柱和横梁,通过悬挂的电箶芦,使密封盖及孔板能自动、迅速、准确地沿导向杆作上下运动,既保证了罐体的密闭性能,又使加茧开关盖等动作实现了自动化,极大地降低了工人的劳动强度。本实用新型具有结构简单、操作简便,能够有效提高生产效率的特点。


