授权公布号:CN112410890B
一种薰衣草蚕丝被的制作工艺
有效
申请
2020-11-23
申请公布
2021-02-26
授权
2021-11-26
预估到期
2040-11-23
| 申请号 | CN202011320579.1 |
| 申请日 | 2020-11-23 |
| 申请公布号 | CN112410890A |
| 申请公布日 | 2021-02-26 |
| 授权公布号 | CN112410890B |
| 授权公告日 | 2021-11-26 |
| 分类号 | D01B7/00;D01B7/02;D04H3/02 |
| 分类 | 天然或人造的线或纤维;纺纱或纺丝; |
| 申请人名称 | 嘉兴邵氏家纺有限公司 |
| 申请人地址 | 浙江省嘉兴市桐乡市凤鸣街道振业路398号5号楼2楼 |
专利法律状态
2024-03-12
专利权质押登记、变更及注销
状态信息
专利权质押登记注销;IPC(主分类):D01B7/00;授权公告日:20211126;申请日:20201123;登记号:Y2023980072485;出质人:嘉兴邵氏家纺有限公司;质权人:浙江泰隆商业银行股份有限公司嘉兴桐乡支行;注销日:20240222
2024-01-05
专利权质押合同登记的生效、变更及注销
状态信息
专利权质押合同登记的生效;IPC(主分类):D01B7/00;登记号:Y2023980072485;登记生效日:20231220;出质人:嘉兴邵氏家纺有限公司;质权人:浙江泰隆商业银行股份有限公司嘉兴桐乡支行;发明名称:一种薰衣草蚕丝被的制作工艺;申请日:20201123;授权公告日:20211126
2021-11-26
授权
状态信息
授权
2021-03-16
实质审查的生效
状态信息
实质审查的生效;IPC(主分类):D01B7/00;申请日:20201123
2021-02-26
公布
状态信息
公布
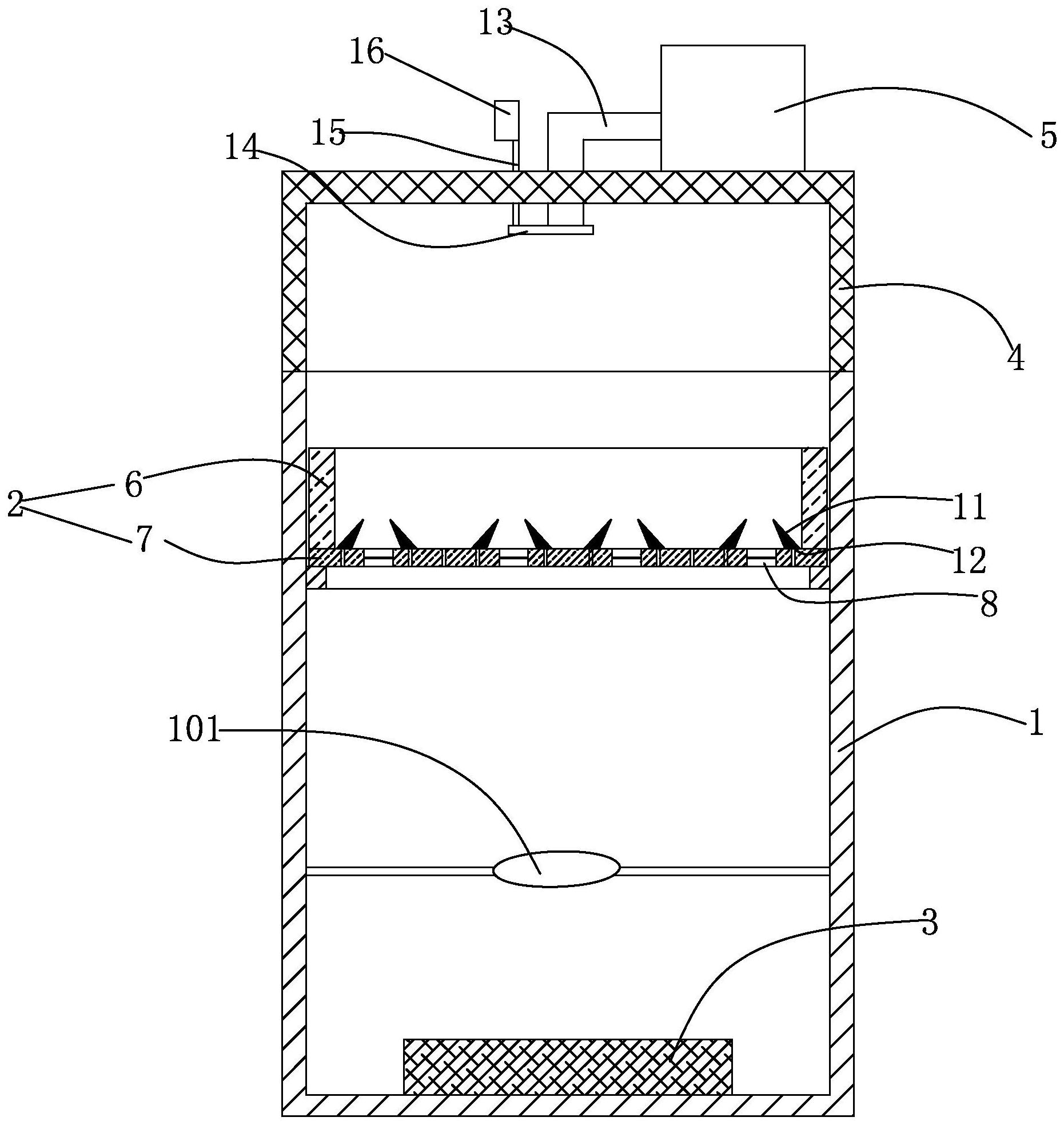
摘要
本发明公开了一种薰衣草蚕丝被的制作工艺,属于纺织品加工领域,旨在提供一种使得加工完成后不再具有蚕茧腥味的薰衣草蚕丝被的制作工艺,依次经过如下步骤:S1、选茧,人工挑选出双宫茧,并将挑选出的双宫茧利用烘干装置进行烘干成为干茧;S2、煮茧,将烘干的干茧放到25°‑35°的水中,并于水中加入占有水重量2%的小苏打,煮制60分钟‑75分钟;S3、蒸茧,将煮制好的蚕茧放置于去异味装置中进行蒸煮,去异味装置中设有薰衣草料包;S4、浸泡,将蒸煮好的蚕茧浸泡于清水中,并进行清洗;S5、拉丝,将浸泡好的蚕茧进行拉松、拉长,形成条网状;S6、制被,将蚕丝以纵横交错排布进行铺叠揉压,做成蚕丝被。


