授权公布号:CN212619820U
一种蚕丝被加工用烘干装置
有效
申请
2020-04-30
申请公布
1970-01-01
授权
2021-02-26
预估到期
2030-04-30
| 申请号 | CN202020705274.1 |
| 申请日 | 2020-04-30 |
| 授权公布号 | CN212619820U |
| 授权公告日 | 2021-02-26 |
| 分类号 | F26B11/08;F26B21/00;F26B25/16 |
| 分类 | 干燥; |
| 申请人名称 | 安徽珂欣茧业有限公司 |
| 申请人地址 | 安徽省六安市集中示范园区三十铺镇太平村 |
专利法律状态
2021-02-26
授权
状态信息
授权
摘要
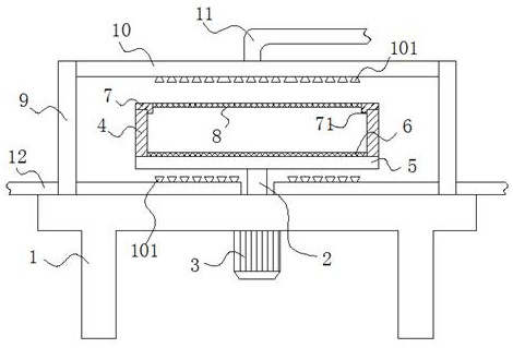
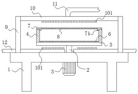
本实用新型公开了一种蚕丝被加工用烘干装置,低速电机的输出轴端部与竖轴下端固接,环形块下口处水平固接一块条形板,竖轴上端与条形板下端面中部固接,下圆形孔网固接在环形块内壁底部一侧,环形块上口处扣接一个顶盖,顶盖上开有一个与环形块内部相通的圆槽,且该圆槽上口一侧固接一个上圆形孔网,横管水平安装在两块侧板之间,横管外周面下侧对应于上环形孔网的部分均匀安装有喇叭形出风口,横管外周面上侧连接一根热风管一,底架上端面左右两侧分别设置一根热风管二,热风管二外周面上侧对应于下圆形孔网的部分亦均匀安装有喇叭形出风口,热风管二背离竖轴的一端连接至外接热风机的出风管道上。本实用新型具有烘干效率高、烘干彻底的优点。


