授权公布号:CN215122196U
一种高效智能的桑叶采摘结构
有效
申请
2021-06-07
申请公布
1970-01-01
授权
2021-12-14
预估到期
2031-06-07
| 申请号 | CN202121253050.2 |
| 申请日 | 2021-06-07 |
| 授权公布号 | CN215122196U |
| 授权公告日 | 2021-12-14 |
| 分类号 | A01D46/00 |
| 分类 | 农业;林业;畜牧业;狩猎;诱捕;捕鱼; |
| 申请人名称 | 江苏和茧丝绸科技有限公司 |
| 申请人地址 | 江苏省镇江市新区丁卯四平山路36号 |
专利法律状态
2021-12-14
授权
状态信息
授权
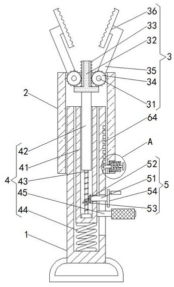
摘要
本实用新型涉及农业机械技术领域,且公开了一种高效智能的桑叶采摘结构,包括第一套筒,第一套筒的外侧设置有套管,所述套管的内部设置有一端延伸至其顶部的采摘组件。该高效智能的桑叶采摘结构,通过转动手摇转盘带动转动杆和驱动锥齿轮旋转,进而通过从动锥齿轮带动螺纹杆旋转,螺纹杆会不断的从螺纹套筒内旋出从而带动螺纹套筒在第二套筒内向上移动,进而通过挤压T型滑块带动套管整体向上移动,在限位组件上移的过程中,限位楔形块的左端受到挤压会间接性的移出和延伸至限位槽的内部,保证了在高度调节完成后限位楔形块能够对套管的位置进行限制,实现了可对采摘高度进行调节的目的,大大提高了适用性。


