授权公布号:CN211902576U
一种防爆LED灯具
有效
申请
2020-06-13
申请公布
1970-01-01
授权
2020-11-10
预估到期
2030-06-13
| 申请号 | CN202021086720.1 |
| 申请日 | 2020-06-13 |
| 授权公布号 | CN211902576U |
| 授权公告日 | 2020-11-10 |
| 分类号 | F21S8/00 |
| 分类 | 照明; |
| 申请人名称 | 浙江岩崎电气有限公司 |
| 申请人地址 | 浙江省温州市乐清市柳市镇前西垟村捷达路6幢8号 |
专利法律状态
2020-11-10
授权
状态信息
授权
摘要
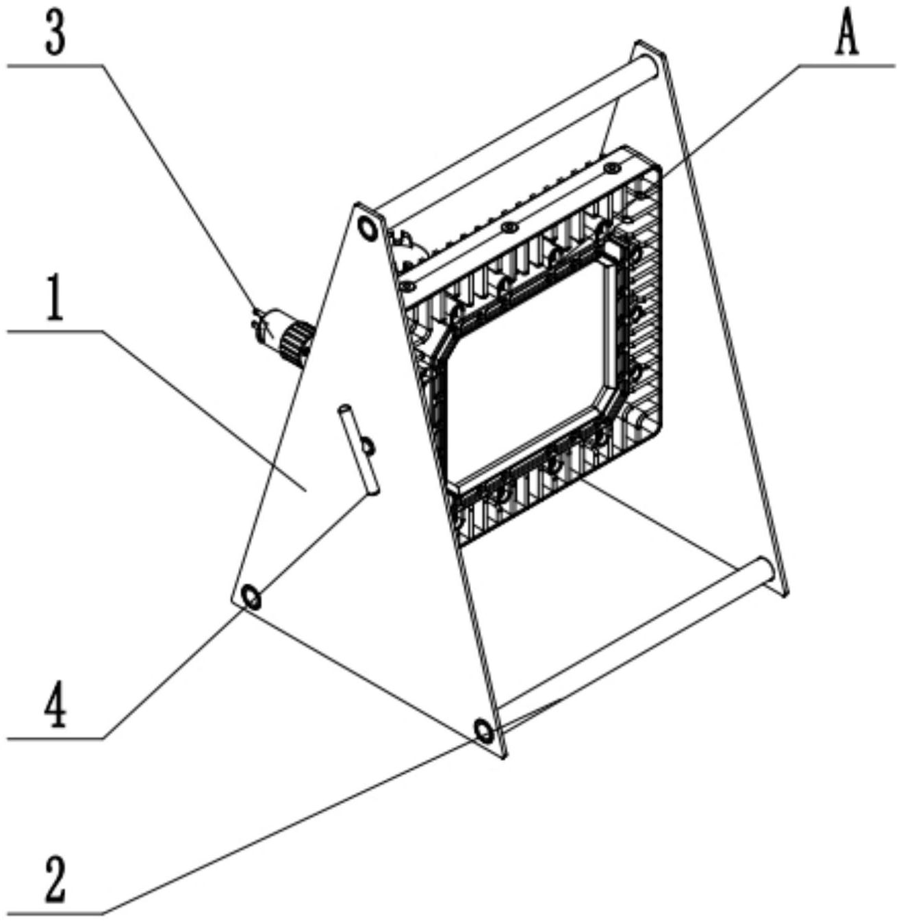
本实用新型涉及防爆LED技术领域,具体公开了一种防爆LED灯具,包括对称设置在地面的上支撑板和与贯穿连接在支撑板上的转动杆,转动杆两端穿出支撑板固接有转动扣,转动杆套有防爆灯具机构,防爆灯具机构包括套在转动杆上的框体,框体中心设有集成LED光源,框体和集成LED光源之间还设有功能板,功能板一端与框体可拆卸连接,功能板的另一端与集成LED光源固接,功能板上均匀分布若干用于汇集光线的集光板,若干集光板之间还设有若干可燃气体探测器,框体靠近功能板的端面均匀固接有若干温度报警器,框体靠近集成LED光源的一侧可拆卸连接有防爆透光罩,框体远离防爆透光罩的一侧固接有电源插头,本装置解决了传统的LED灯具缺少防爆功能的问题。


