授权公布号:CN206093769U
一种高精度室内智能照明灯具
有效
申请
2016-10-18
申请公布
1970-01-01
授权
2017-04-12
预估到期
2026-10-18
| 申请号 | CN201621135276.1 |
| 申请日 | 2016-10-18 |
| 授权公布号 | CN206093769U |
| 授权公告日 | 2017-04-12 |
| 分类号 | F21S8/04;F21V23/04 |
| 分类 | 照明; |
| 申请人名称 | 深圳市皓璟照明科技有限公司 |
| 申请人地址 | 广东省深圳市龙岗区龙岗街道龙岗社区宝龙工业区翠宝路28号赛格导航科技园的一号制造中心五层、六层 |
专利法律状态
2017-04-12
授权
状态信息
授权
摘要
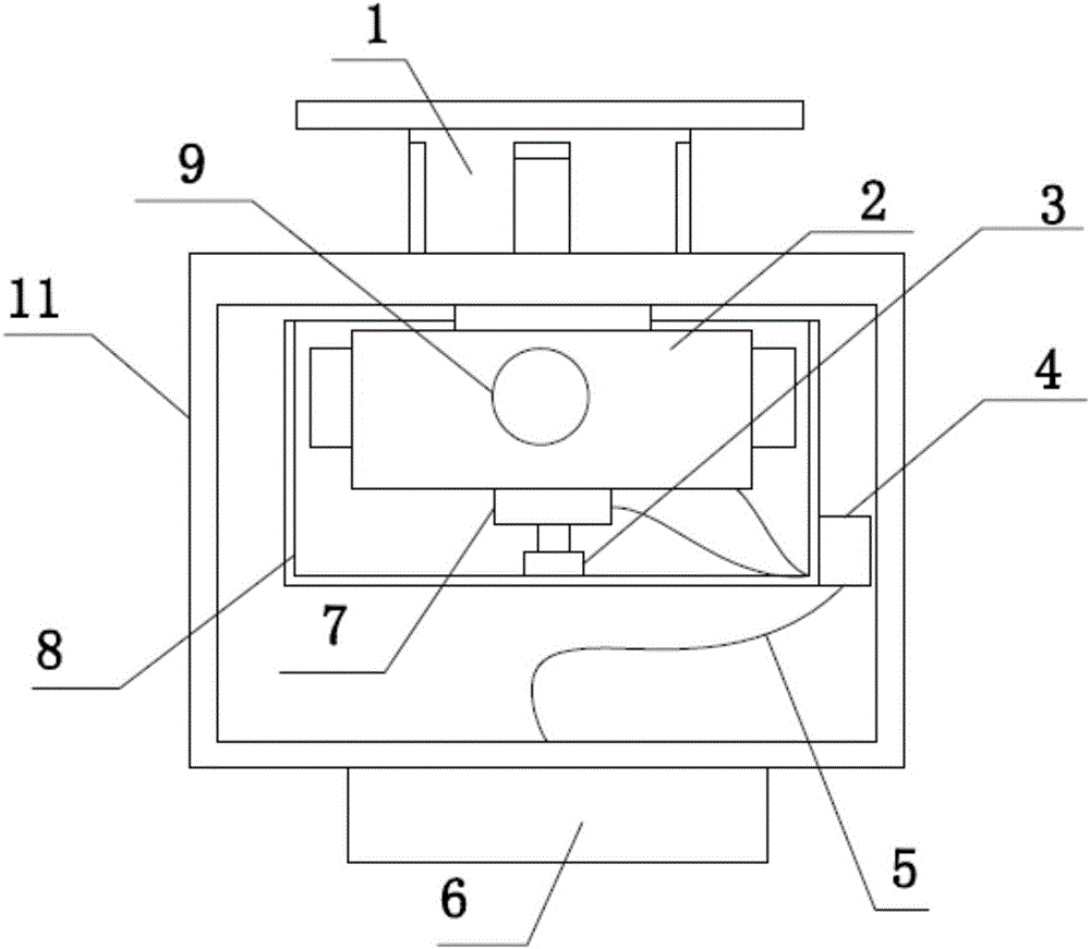
本实用新型公开了一种高精度室内智能照明灯具,包括安装于天花板上的机壳,照明灯具安装于机壳底部,机壳侧面开口,其通过两根连杆分别连接机壳的上下面,机壳的顶面安装一个电机盒,红外检测盒外侧一圈设置至少四个红外传感器,红外检测盒的顶部连接旋转电机的旋转轴,红外传感器的外侧安装一个具有屏蔽红外传感器的遮光罩,红外检测盒底部固定安装具有伸缩遮光罩用的伸缩器,控制器安装于遮光罩外侧,控制器控制照明灯具的打开与关闭。本实用新型通过声音传感器以及红外传感器同时作用,有效避免单一声音传感器出现的误操作行为,增加了准确性,更加节约电能,增加灯具的使用寿命,而红外传感器能有效解决测量的高度问题出现的误操作。


