授权公布号:CN206176160U
一种红外智能家居壁灯
有效
申请
2016-10-28
申请公布
1970-01-01
授权
2017-05-17
预估到期
2026-10-28
| 申请号 | CN201621186208.8 |
| 申请日 | 2016-10-28 |
| 授权公布号 | CN206176160U |
| 授权公告日 | 2017-05-17 |
| 分类号 | F21S8/00;F21V23/00;F21V23/04;H05B33/08;F21Y115/10N |
| 分类 | 照明; |
| 申请人名称 | 深圳市皓璟照明科技有限公司 |
| 申请人地址 | 广东省深圳市龙岗区龙岗街道龙岗社区宝龙工业区翠宝路28号赛格导航科技园的一号制造中心五层、六层 |
专利法律状态
2017-05-17
授权
状态信息
授权
摘要
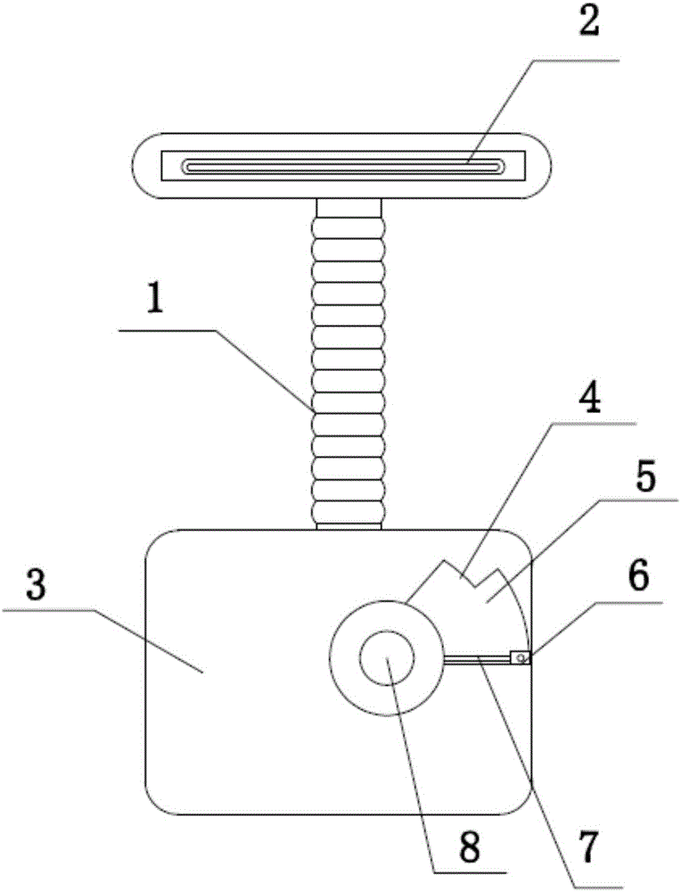
本实用新型公开了一种红外智能家居壁灯,包括一灯座,灯座一侧具有控制盒,控制盒内具有主控板,LED灯通过电源线连接主控板,LED灯与灯座之间具有一个金属软管,电源线穿过该金属软管;灯座前端面嵌入设置一个驱动电机,驱动电机轴上安装一个转动拨杆,转动拨杆外侧面嵌入设置一红外传感器,整根转动拨杆设置于灯座上端面开设的轨道槽内,驱动电机通过主控板控制,LED灯输入端设置一个继电器。本实用新型结构简单,主要针对家居使用,在使用时可通过控制实现红外线传感器的开启与关闭,在不想使用时,只要将转动拨杆转动至屏蔽板下端时,即可关闭红外检测,也可远程控制红外传感器的位置,使得获得不到的红外检测范围,非常灵活。


