授权公布号:CN208186114U
一种LED吸顶防水灯具
有效
申请
2018-02-02
申请公布
1970-01-01
授权
2018-12-04
预估到期
2028-02-02
| 申请号 | CN201820181883.4 |
| 申请日 | 2018-02-02 |
| 授权公布号 | CN208186114U |
| 授权公告日 | 2018-12-04 |
| 分类号 | F21S8/04;F21V17/16;F21Y115/10 |
| 分类 | 照明; |
| 申请人名称 | 悦斯莱特灯饰照明(河源)有限公司 |
| 申请人地址 | 广东省河源市高新技术开发区高埔科技工业园 |
专利法律状态
2018-12-04
授权
状态信息
授权
摘要
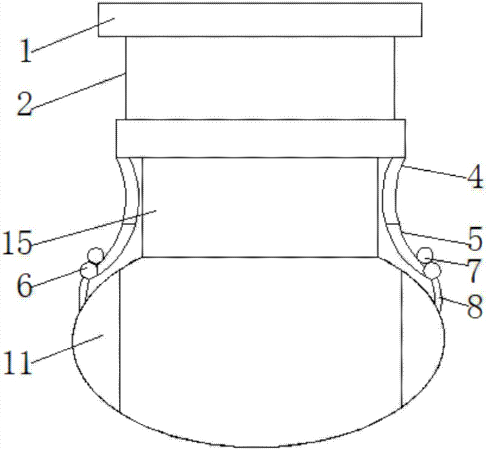
本实用新型涉及LED吸顶防水灯具技术领域,且公开了一种LED吸顶防水灯具,包括安装板,所述安装板的底部固定连接有灯座,所述灯座的底部固定连接有灯套,所述灯套的底端活动连接有灯珠,所述灯座底部的左右两侧均固定连接有固定块,所述固定块的底部的前后两侧均固定连接有弹性条。本实用新型解决了现有技术中的LED吸顶防水灯具灯罩在拆装时操作不方便而增加了操作的危险性的问题,本实用新型通过对活动套、按压块、活动关节、卡杆和圆柱杆相互配合的使用,活动关节上的卡杆能够与圆柱杆脱离卡紧的状态,从而灯罩快速的与灯座脱离搭接的状态,能够快速的对灯罩进行拆装,进而减少在较大高的位置操作时间,保护了操作者操作时的安全。


