授权公布号:CN216438153U
植物种植装置
有效
申请
2021-11-17
申请公布
1970-01-01
授权
2022-05-06
预估到期
2031-11-17
| 申请号 | CN202122827033.1 |
| 申请日 | 2021-11-17 |
| 授权公布号 | CN216438153U |
| 授权公告日 | 2022-05-06 |
| 分类号 | A01G13/06 |
| 分类 | 农业;林业;畜牧业;狩猎;诱捕;捕鱼; |
| 申请人名称 | 悦斯莱特灯饰照明(河源)有限公司 |
| 申请人地址 | 广东省河源市高新技术开发区高埔科技工业园 |
专利法律状态
2022-05-06
授权
状态信息
授权
摘要
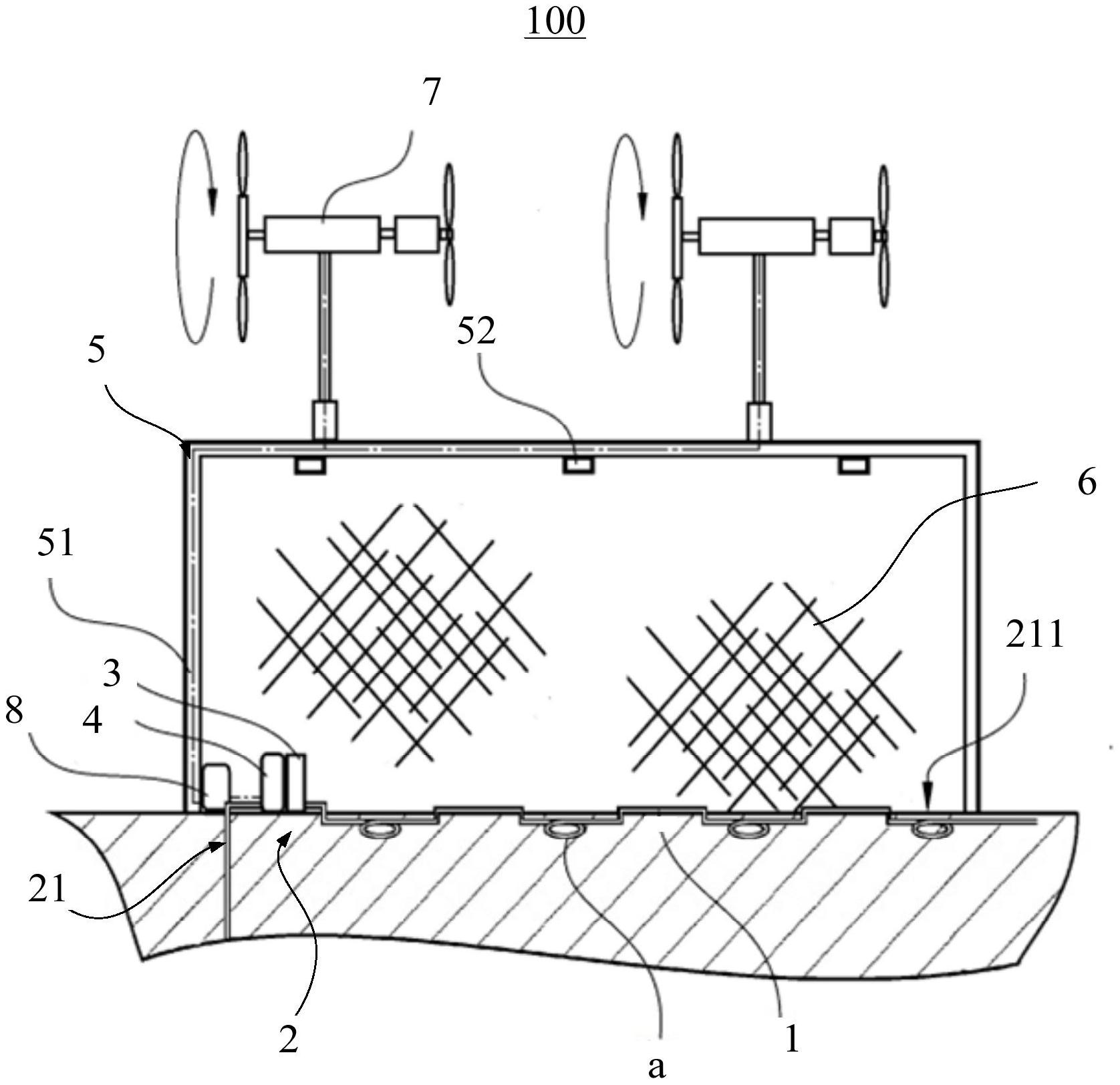
本实用新型公开一种植物种植装置,包括基座和温控系统,基座形成有种植区,种植区用于供植物种植,温控系统包括储液箱和与储液箱连通的温度调节管路,储液箱用于存储液态介质,温度调节管路用于输送液态介质,温度调节管路包括调节管段,调节管段用于对应植物根部设置,温度调节管路上设置有调温组件,调温组件用以调节流经调节管段的液态介质的温度,由于温度调节管路的调节管段对应植物根部设置,从而实现调节植物根部的生长环境温度,提高植物生长速度。


