授权公布号:CN204986726U
一种吊灯烛形光源安装结构
有效
申请
2015-07-29
申请公布
1970-01-01
授权
2016-01-20
预估到期
2025-07-29
| 申请号 | CN201520557001.6 |
| 申请日 | 2015-07-29 |
| 授权公布号 | CN204986726U |
| 授权公告日 | 2016-01-20 |
| 分类号 | F21S8/04;F21V17/12;F21V19/00;F21V21/104 |
| 分类 | 照明; |
| 申请人名称 | 悦斯莱特灯饰照明(河源)有限公司 |
| 申请人地址 | 广东省河源市高新技术开发区高埔科技工业园 |
专利法律状态
2016-01-20
授权
状态信息
授权
摘要
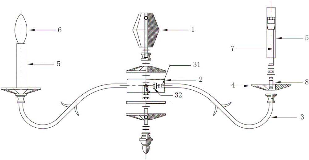
一种吊灯烛形光源安装结构,包括吊灯架和烛形光源组件,所述烛形光源组件包括光源安装座、弯管和烛形光源,所述弯管一端为与光源安装座固定连接的固定端,另一端为将烛形光源固定的光源端;所述弯管为中空结构,烛形光源的电线从光源安装座穿过弯管与烛形光源电性连接。所述弯管固定端的外表面设有螺纹,螺纹段的弯管穿过光源安装座的薄壁,并通过设于光源安装座内侧的安装螺母锁紧固定。所述螺纹段的弯管直径小于光滑段的弯管。本实用新型提供的吊灯烛形光源安装结构,弯管为空心体,方便电线穿过;弯管固定端的螺纹段直径略小,方便安装时卡接定位;整体结构简单,安装稳定。


