授权公布号:CN216652936U
一种便携式脉冲强光杀菌灯
有效
申请
2021-12-21
申请公布
1970-01-01
授权
2022-06-03
预估到期
2031-12-21
| 申请号 | CN202123224239.1 |
| 申请日 | 2021-12-21 |
| 授权公布号 | CN216652936U |
| 授权公告日 | 2022-06-03 |
| 分类号 | A61L2/10 |
| 分类 | 医学或兽医学;卫生学; |
| 申请人名称 | 常州玉宇电光器件有限公司 |
| 申请人地址 | 江苏省常州市武进经济开发区菊香路1号 |
专利法律状态
2022-06-03
授权
状态信息
授权
摘要
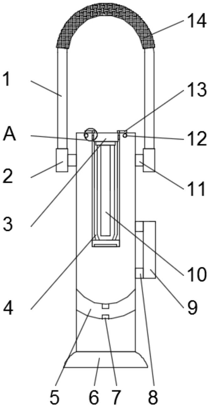
本实用新型涉及杀菌装置技术领域,具体涉及一种便携式脉冲强光杀菌灯,包括防护筒,所述防护筒的下端固定连接有底座,所述防护筒的侧壁设置有防护装置,所述防护装置包括防护组件和便携组件,所述防护组件设置在防护筒的两侧,所述便携组件转动连接在两侧,本实用新型的有益效果是:当需要使用杀菌灯进行工作时,将杀菌灯进行转动而后通过夹紧块的夹紧固定,启动脉冲强光灯管进行照明杀菌,且杀菌灯方便进行携带与悬挂,增加杀菌灯的实用性,并且在不使用杀菌灯时,可以向上拉动防护板进行防护,防止灰尘的进入。


