授权公布号:CN215348270U
一种易卷易收纳地毯
有效
申请
2021-05-24
申请公布
1970-01-01
授权
2021-12-31
预估到期
2031-05-24
| 申请号 | CN202121115778.9 |
| 申请日 | 2021-05-24 |
| 授权公布号 | CN215348270U |
| 授权公告日 | 2021-12-31 |
| 分类号 | A47G27/02 |
| 分类 | 家具;家庭用的物品或设备;咖啡磨;香料磨;一般吸尘器; |
| 申请人名称 | 江苏鸿成地面材料(集团)有限公司 |
| 申请人地址 | 江苏省南通市经济技术开发区新兴路16号 |
专利法律状态
2021-12-31
授权
状态信息
授权
摘要
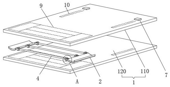
本实用新型公开了一种易卷易收纳地毯,其技术方案是:包括地毯主体,地毯主体包括上基层和下基层,上基层和下基层之间固定连接,上基层和下基层之间设置有辅助收卷组件,辅助收卷组件设置在靠近地毯主体边缘处,一种易卷易收纳地毯的有益效果是:通过在上基层和下基层之间设置辅助收卷组件,当需要收卷时使用踩动或掰动的方式弯曲两个复位钢条,复位钢条在弯折后可以自动发生形变后卷曲呈涡卷状,并带动硬质直杆移动,此时可以带动地毯边缘自动卷曲一部分,同时硬质直杆可作为地毯卷的中心轴,在此基础上可进行后续收卷,相比现有技术更加方便收卷,可有效避免地毯卷产生偏移形变、体积增大的状况,并且结构简单,成本低。


