授权公布号:CN216274813U
一种用于地毯加工的自动剪花装置
有效
申请
2021-11-26
申请公布
1970-01-01
授权
2022-04-12
预估到期
2031-11-26
| 申请号 | CN202122931633.2 |
| 申请日 | 2021-11-26 |
| 授权公布号 | CN216274813U |
| 授权公告日 | 2022-04-12 |
| 分类号 | D06C23/02;B08B5/04 |
| 分类 | 织物等的处理;洗涤;其他类不包括的柔性材料; |
| 申请人名称 | 江苏鸿成地面材料(集团)有限公司 |
| 申请人地址 | 江苏省南通市经济技术开发区新兴路16号 |
专利法律状态
2022-04-12
授权
状态信息
授权
摘要
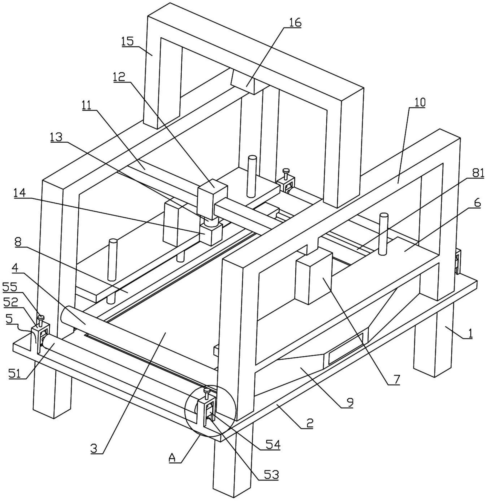
本实用新型属于地毯剪花技术领域,公开了一种用于地毯加工的自动剪花装置,包括机架,所述机架安装有底板,所述底板上放置有丝网板,所述机架两侧安装有卷辊,所述机架两侧安装有松紧调节机构,所述松紧调节机构包括松紧辊,所述机架安装有两块安装板,两块所述安装板均安装有伸缩缸,所述伸缩缸输出端连接有压板,所述安装板与所述机架之间安装有收尘罩,所述收尘罩动力端连接有吸风风机,所述机架顶部安装有两道Y向导轨,两道所述Y向导轨一并滑动安装有X向导轨,所述X向导轨滑动安装有移动装置,所述移动装置安装有升降电动缸,所述升降电动缸输出端连接有剪花装置,所述Y向导轨中间位置安装有支架,所述支架中心位置安装有摄像头。


