授权公布号:CN218540113U
一种棉纺织品用压平机构
有效
申请
2022-07-29
申请公布
1970-01-01
授权
2023-02-28
预估到期
2032-07-29
| 申请号 | CN202221981256.1 |
| 申请日 | 2022-07-29 |
| 授权公布号 | CN218540113U |
| 授权公告日 | 2023-02-28 |
| 分类号 | D06C15/00;D06B23/00;F16F15/067 |
| 分类 | 织物等的处理;洗涤;其他类不包括的柔性材料; |
| 申请人名称 | 保定津新棉毛纺织品有限公司 |
| 申请人地址 | 河北省保定市安新县卢庄乡南边吴村 |
专利法律状态
2023-02-28
授权
状态信息
授权
摘要
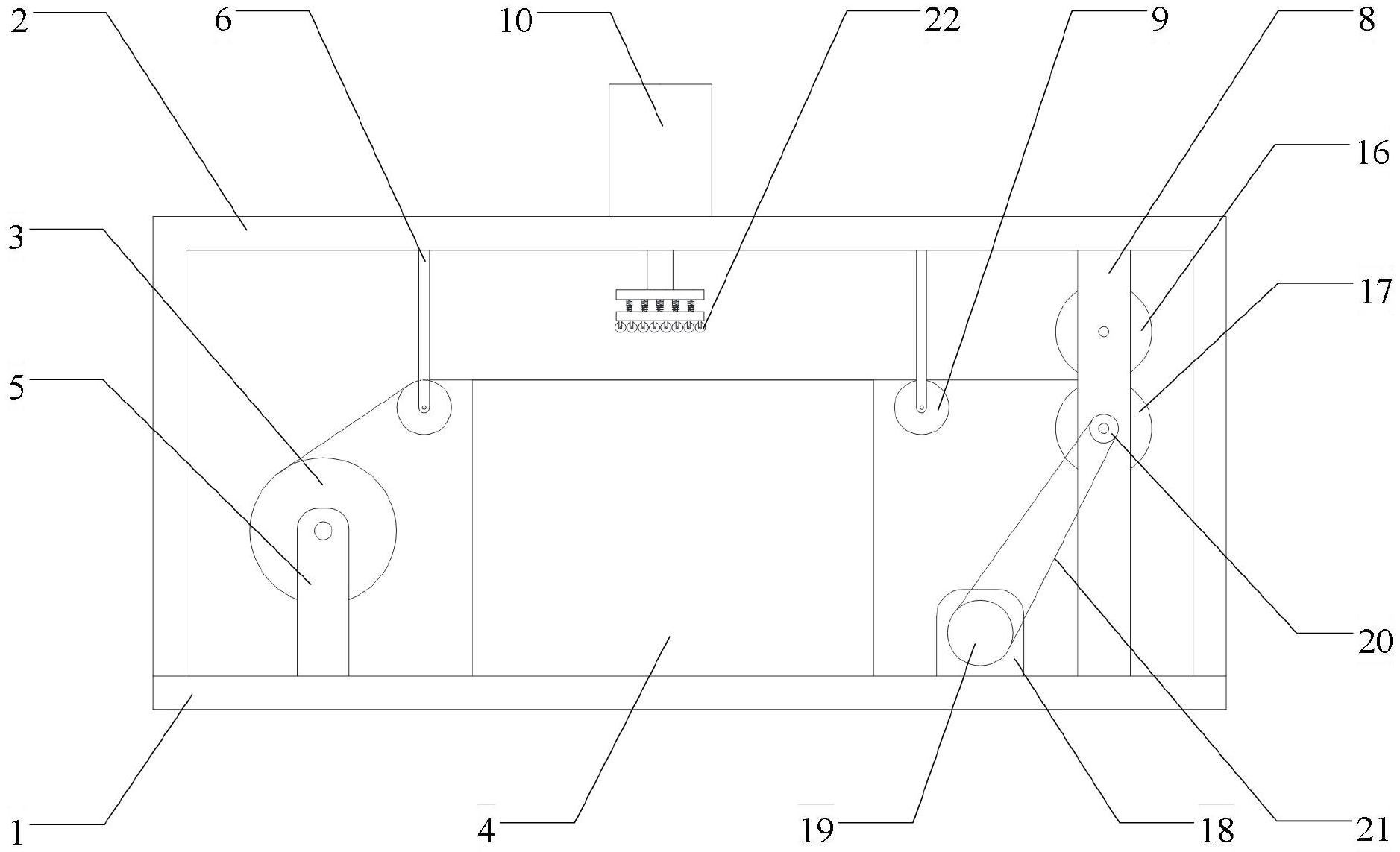
本实用新型公开了一种棉纺织品用压平机构,包括底板和支架,支架设置在底板上,底板上设置有纺织品滚筒,底板的中间设置有压平平台,压平平台的上方设置有用于压平棉纺织品的一次压平机构,一次压平机构设置在支架的顶端,一次压平机构的两侧均设置有用于输送棉纺织品的输送辊,纺织品滚筒设置在压平平台的一侧,压平平台的另一侧设置有二次压平机构;一次压平机构包括伸缩结构,支架通过伸缩结构与安装板一连接,安装板一通过减震结构与安装板二连接,安装板二上设置有若干个整平辊。本实用新型采用上述结构的棉纺织品用压平机构,能够解决传统的棉纺织品进行压平时压平的效果不好以及压平时不稳定的问题。


