授权公布号:CN205831562U
一种新型多功能地毯展架
有效
申请
2016-05-23
申请公布
1970-01-01
授权
2016-12-28
预估到期
2026-05-23
| 申请号 | CN201620477630.2 |
| 申请日 | 2016-05-23 |
| 授权公布号 | CN205831562U |
| 授权公告日 | 2016-12-28 |
| 分类号 | A47F7/16;A47F5/10 |
| 分类 | 家具;家庭用的物品或设备;咖啡磨;香料磨;一般吸尘器; |
| 申请人名称 | 浙江大达家居用品有限公司 |
| 申请人地址 | 浙江省温州市瑞安市飞云新区 |
专利法律状态
2016-12-28
授权
状态信息
授权
摘要
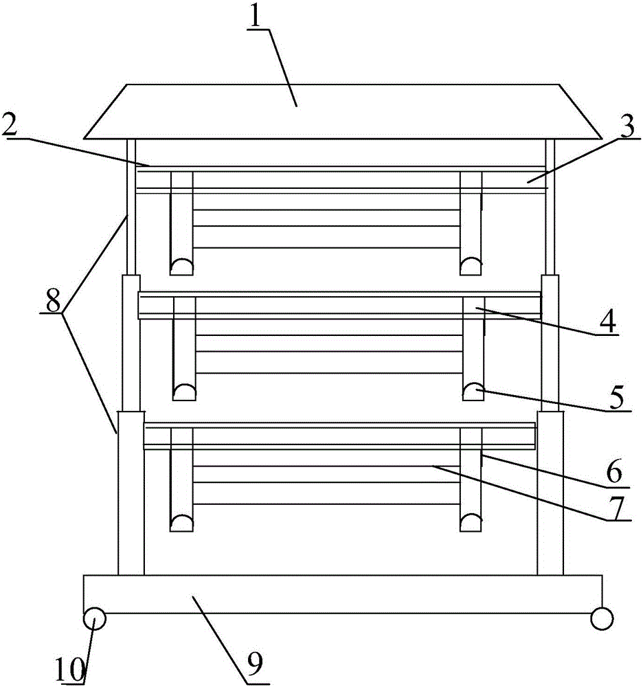
本实用新型提供一种新型多功能地毯展架,包括防护罩,支撑横杆,滑槽,滑块,挡板,竖梁,横梁,可调节支撑架结构,底座和滚轮,所述的防护罩设置在可调节支撑架结构的上部;所述的滑槽设置在支撑横杆的内部;所述的滑块设置在竖梁的顶部并和滑槽相连接;所述的挡板设置在竖梁的后部;所述的竖梁之间连接着横梁;所述的可调节支撑架结构连接支撑横杆并设置在支撑横杆的两侧。本实用新型通过可调节支撑架结构的设置,方便伸缩,将地毯架合起来,使得使用方便,便于收纳;滑槽,滑块的设置,便于调节竖梁之间的距离,放置不同类型的地毯,使用方便;防护罩,滚轮的设置使其功能更加完善,使用方便。


