授权公布号:CN212223279U
一种复合坐垫的自动缝合装置
有效
申请
2020-03-17
申请公布
1970-01-01
授权
2020-12-25
预估到期
2030-03-17
| 申请号 | CN202020329191.7 |
| 申请日 | 2020-03-17 |
| 授权公布号 | CN212223279U |
| 授权公告日 | 2020-12-25 |
| 分类号 | D05B33/00 |
| 分类 | 缝纫;绣花;簇绒; |
| 申请人名称 | 浙江大达家居用品有限公司 |
| 申请人地址 | 浙江省温州市瑞安市飞云新区 |
专利法律状态
2020-12-25
授权
状态信息
授权
摘要
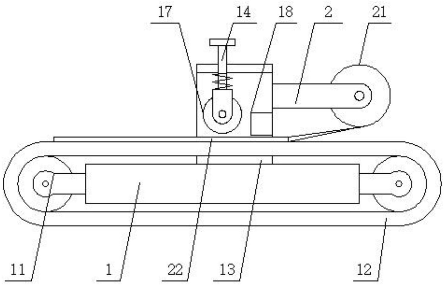
本实用新型公开了一种复合坐垫的自动缝合装置,包括机架,所述机架的两端表面均通过支架安装有输送辊,所述输送辊的表面转动安装有输送带,所述输送带的表面滑动连接于机架的两侧表面,所述机架的一侧表面固定连接有L型安装板,所述L型安装板的两侧表面滑动安装有滑动杆,所述滑动杆的表面滑动套接有压紧弹簧,所述压紧弹簧的一端固定连接于L型安装板的侧面,所述滑动杆的另一端固定连接有U型架,所述U型架的侧面转动安装有压紧辊,通过在机架两端安装输送辊和输送带,可以高效送料,结合滑动杆连接的压紧辊结构,可以辅助压紧定位,保证缝合质量和效率,这样能够大大提高使用的便利性和稳定性,保证生产加工的高效性。


