授权公布号:CN207259143U
床垫面料填充装置
有效
申请
2017-09-04
申请公布
1970-01-01
授权
2018-04-20
预估到期
2027-09-04
| 申请号 | CN201721124849.5 |
| 申请日 | 2017-09-04 |
| 授权公布号 | CN207259143U |
| 授权公告日 | 2018-04-20 |
| 分类号 | B68G7/02 |
| 分类 | 鞍具;家具罩面; |
| 申请人名称 | 安徽爱就爱家具制造有限公司 |
| 申请人地址 | 安徽省合肥市肥东县新城开发区古河路 |
专利法律状态
2023-12-22
专利权质押合同登记的生效、变更及注销
状态信息
专利权质押合同登记的注销;IPC(主分类):B68G7/02;授权公告日:20180420;申请日:20170904;专利号:ZL2017211248495;登记号:Y2023980031532;出质人:安徽爱就爱家具制造有限公司;质权人:肥东县中小企业融资担保有限公司;解除日:20231205
2023-02-10
专利权质押合同登记的生效、变更及注销
状态信息
专利权质押合同登记的生效;IPC(主分类):B68G7/02;登记号:Y2023980031532;登记生效日:20230117;出质人:安徽爱就爱家具制造有限公司;质权人:肥东县中小企业融资担保有限公司;实用新型名称:床垫面料填充装置;申请日:20170904;授权公告日:20180420
2018-04-20
授权
状态信息
授权
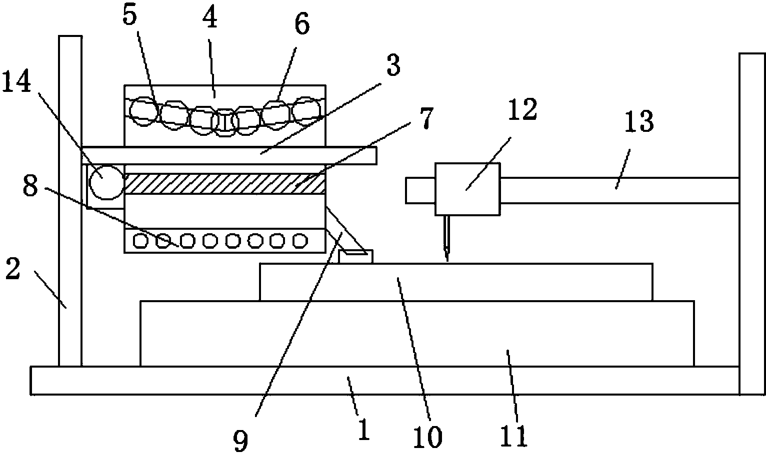
摘要
本实用新型公开了一种床垫面料填充装置,包括底座,其特征在于:所述底座的左端设有支撑柱,所述支撑柱的侧壁上设有横梁板,所述横梁板上固定安装有矿物盐碾碎箱,所述矿物盐碾碎箱内设有锥形碾辊架,所述碾辊架上转动安装有多个碾辊,所述碾辊的下方设有振动过滤筛,所述过滤筛的一侧设有振动器,所述振动过滤筛的底部设有加热层,所述矿物盐碾碎箱的侧壁上设有出料管,所述出料管连接面料套,所述面料条位于缝纫面板上。本实用新型结构简单,填充效率高,且矿物盐物质能够充分细腻地被碾碎,提高床垫舒适度。


