授权公布号:CN207259847U
床垫生产用软面垫加工装置
有效
申请
2017-09-04
申请公布
1970-01-01
授权
2018-04-20
预估到期
2027-09-04
| 申请号 | CN201721124419.3 |
| 申请日 | 2017-09-04 |
| 授权公布号 | CN207259847U |
| 授权公告日 | 2018-04-20 |
| 分类号 | D06N3/00;D06B23/14;D06B23/20 |
| 分类 | 织物等的处理;洗涤;其他类不包括的柔性材料; |
| 申请人名称 | 安徽爱就爱家具制造有限公司 |
| 申请人地址 | 安徽省合肥市肥东县新城开发区古河路 |
专利法律状态
2024-02-06
专利权质押登记、变更及注销
状态信息
专利权质押登记;IPC(主分类):D06N3/00;登记号:Y2024980002161;登记日:20240118;出质人:安徽爱就爱家具制造有限公司;质权人:肥东县中小企业融资担保有限公司;实用新型名称:床垫生产用软面垫加工装置;申请日:20170904;授权公告日:20180420
2023-01-24
专利权质押合同登记的生效、变更及注销
状态信息
专利权质押合同登记的注销;IPC(主分类):D06N3/00;授权公告日:20180420;申请日:20170904;登记号:2018340000783;出质人:安徽爱就爱家具制造有限公司;质权人:肥东县中小企业融资担保有限公司;解除日:20230106
2019-01-22
专利权质押合同登记的生效、变更及注销
状态信息
专利权质押合同登记的生效;IPC(主分类):D06N3/00;登记号:2018340000783;登记生效日:20181228;出质人:安徽爱就爱家具制造有限公司;质权人:肥东县中小企业融资担保有限公司;实用新型名称:床垫生产用软面垫加工装置;申请日:20170904;授权公告日:20180420
2018-04-20
授权
状态信息
授权
摘要
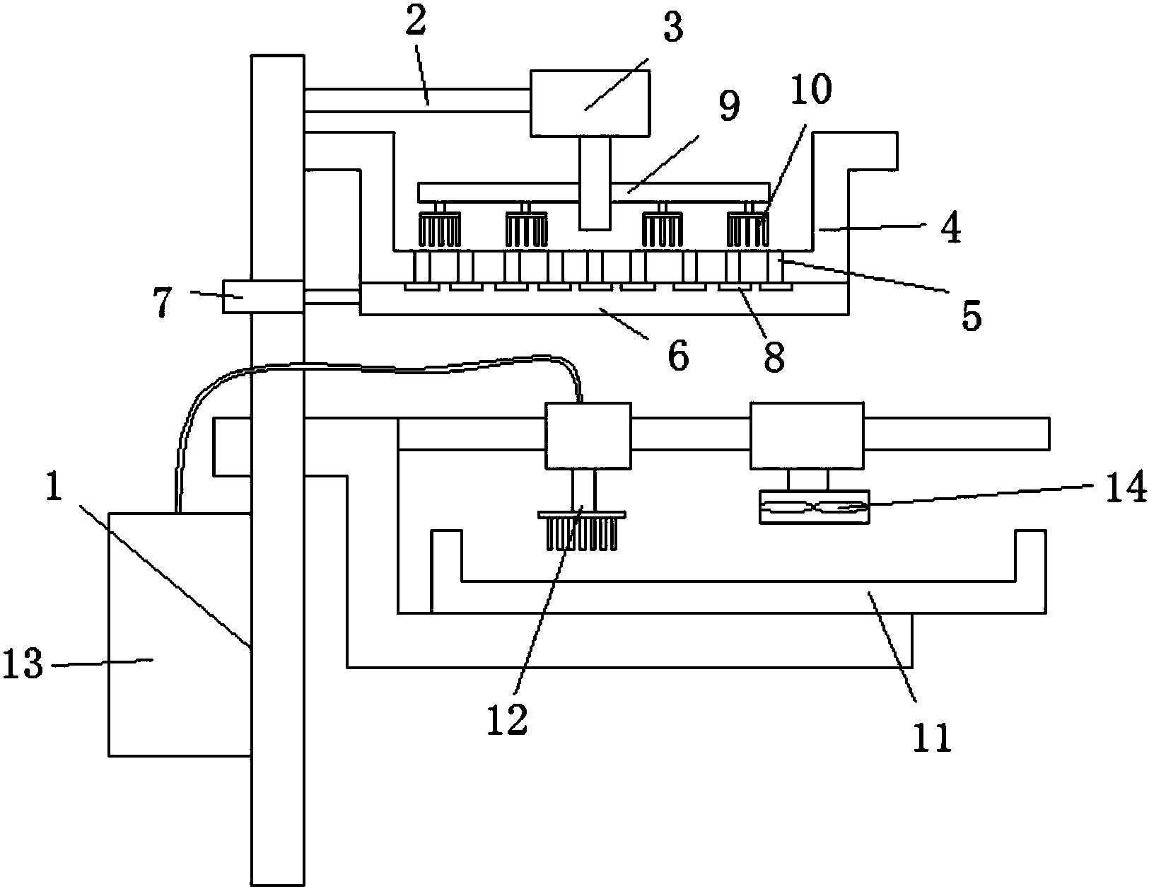
本实用新型公开了一种床垫生产用软面垫加工装置,包括支撑柱,其特征在于:所述支撑柱的侧壁上设有横梁板,所述横梁板的上搅拌电机,所述搅拌电机的下方设有羊毛搅拌清洗除味槽,所述清洗除味槽的底部设有排水孔,所述排水孔下方设有堵孔板,所述堵孔板表面设有多个堵孔塞,堵孔塞与排水孔匹配。本实用新型结构简单,床垫的羊毛的处理效率高,除味效果好,柔软舒适度高。


