授权公布号:CN212462876U
应急照明集中电源
有效
申请
2020-06-09
申请公布
1970-01-01
授权
2021-02-02
预估到期
2030-06-09
| 申请号 | CN202021061895.7 |
| 申请日 | 2020-06-09 |
| 授权公布号 | CN212462876U |
| 授权公告日 | 2021-02-02 |
| 分类号 | H02J9/02;H05K7/14 |
| 分类 | 发电、变电或配电; |
| 申请人名称 | 深圳市日锋电子有限公司 |
| 申请人地址 | 广东省深圳市坪山新区坪山街道沙湖社区锦龙大道南18号 |
专利法律状态
2021-02-02
授权
状态信息
授权
摘要
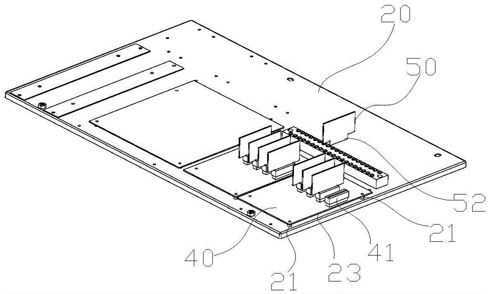
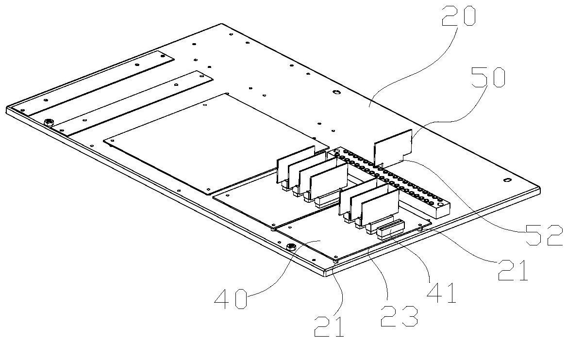
本实用新型提出一种应急照明集中电源,包括壳体、安装板、控制板和至少一个回路板;安装板设置在壳体的安装空间内;控制板设置在安装板上;回路板上至少设置有一个回路电路,且回路板上设置有回路插头;控制板设置有至少一个回路插槽,回路板可通过回路插头插接在回路插槽上;其中,当回路板插接在回路插槽上时,回路板上的回路电路与控制板电连接。在本实用新型中,由于回路电路设置在回路板上,所以控制板可以在需要回路电路时再插接回路板,使得控制板上可以不设置或者少设置回路电路,避免资源浪费。


