授权公布号:CN214211553U
发光二极管固晶机吸嘴清洁装置和固晶机
有效
申请
2020-09-25
申请公布
1970-01-01
授权
2021-09-17
预估到期
2030-09-25
| 申请号 | CN202022136013.5 |
| 申请日 | 2020-09-25 |
| 授权公布号 | CN214211553U |
| 授权公告日 | 2021-09-17 |
| 分类号 | B08B5/04;B08B5/02;H01L33/48 |
| 分类 | 清洁; |
| 申请人名称 | 亿光电子(中国)有限公司 |
| 申请人地址 | 江苏省苏州市吴江区吴江经济技术开发区运西分区中山北路2135号 |
专利法律状态
2021-09-17
授权
状态信息
授权
摘要
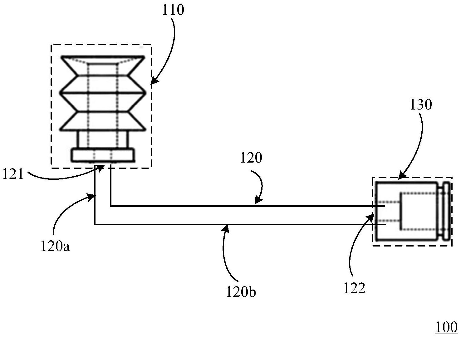
本实用新型涉及一种发光二极管固晶机吸嘴清洁装置和应用其的固晶机。该发光二极管固晶机吸嘴清洁装置用于清洁固晶机吸嘴中的异物,包括:吸嘴插入部,适于所述固晶机吸嘴插入;连接管道,包括分别位于所述连接管道两端的第一端口和第二端口,所述第一端口与所述吸嘴插入部连通;以及负压发生器,与所述第二端口连通,所述负压发生器启动时在所述连接管道中产生负压。本实用新型的发光二极管固晶机吸嘴清洁装置通过负压发生器在连接管道中产生负压,对固晶机吸嘴产生吸力,使固晶机吸嘴中的异物被吸出,起到清洁固晶机吸嘴的作用。


