授权公布号:CN219738979U
LED支架
有效
申请
2023-01-17
申请公布
1970-01-01
授权
2023-09-22
预估到期
2033-01-17
| 申请号 | CN202320116652.6 |
| 申请日 | 2023-01-17 |
| 授权公布号 | CN219738979U |
| 授权公告日 | 2023-09-22 |
| 分类号 | H01L33/48;H01L33/54;H01L33/56 |
| 分类 | 基本电气元件; |
| 申请人名称 | 亿光电子(中国)有限公司 |
| 申请人地址 | 江苏省苏州市吴江区吴江经济技术开发区运西分区中山北路2135号 |
专利法律状态
2023-09-22
授权
状态信息
授权
摘要
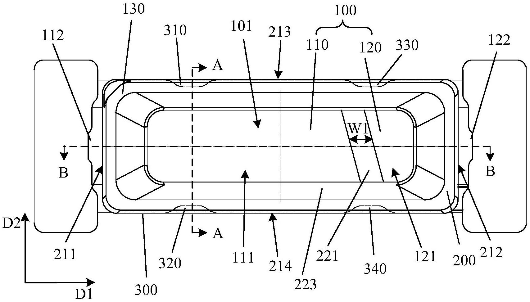
本实用新型涉及一种LED支架,包括支架本体和封装体,所述支架本体包括正面、背面、第一引脚和第二引脚,所述正面包括固晶区和打线区,所述封装体具有第一侧面、第二侧面、第三侧面和第四侧面,所述封装体包裹所述支架本体并在所述正面暴露所述固晶区和所述打线区,在所述第一侧面暴露所述第一引脚,在所述第二侧面暴露所述第二引脚,所述封装体在第三侧面和/或第四侧面具有至少一凹槽,所述凹槽从所述背面起始沿朝向所述正面的方向依次具有连续的倾斜面、垂直面和水平面。该LED支架具有改善的卡点,可以避免脱散粒制程中的封装体破裂。


