授权公布号:CN210274695U
一种印刷电路板
有效
申请
2019-07-31
申请公布
1970-01-01
授权
2020-04-07
预估到期
2029-07-31
| 申请号 | CN201921228750.9 |
| 申请日 | 2019-07-31 |
| 授权公布号 | CN210274695U |
| 授权公告日 | 2020-04-07 |
| 分类号 | H05K1/02;H05K1/18 |
| 分类 | 其他类目不包含的电技术; |
| 申请人名称 | 亿光电子(中国)有限公司 |
| 申请人地址 | 江苏省苏州市吴江区吴江经济技术开发区运西分区中山北路2135号 |
专利法律状态
2020-04-07
授权
状态信息
授权
摘要
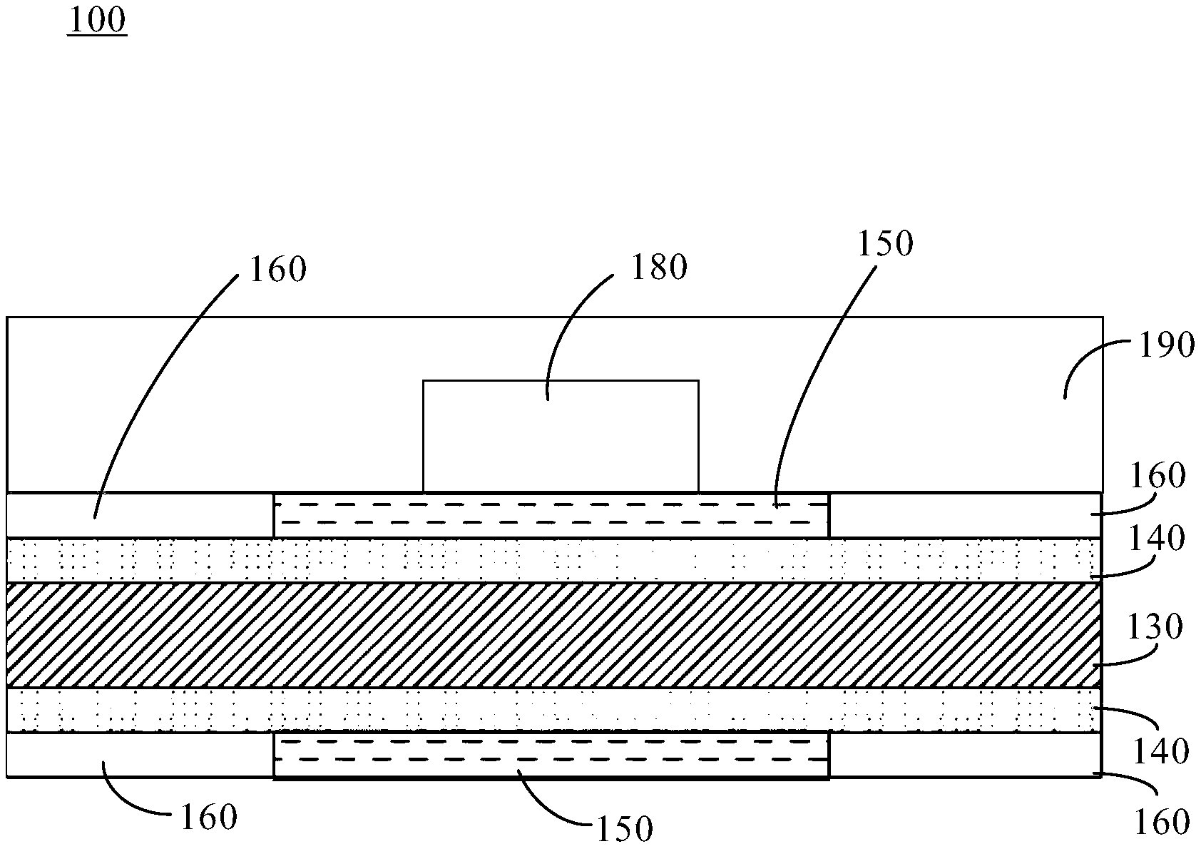
本实用新型提供一种印刷电路板,包括功能区和非功能区,所述功能区中具有功能器件,所述印刷电路板包括:基板、铜箔层、粘合层和密封层;铜箔层,形成于部分所述基板上;粘合层,形成于所述功能区中且与所述铜箔层接触,用于将所述功能区中的功能器件粘合于所述铜箔层上;密封层,形成于所述非功能区中且与所述铜箔层或所述基板接触,用于密封所述粘合层的侧面。


