授权公布号:CN215190808U
一种新型阻燃型地毯
有效
申请
2021-07-01
申请公布
1970-01-01
授权
2021-12-17
预估到期
2031-07-01
| 申请号 | CN202121480788.2 |
| 申请日 | 2021-07-01 |
| 授权公布号 | CN215190808U |
| 授权公告日 | 2021-12-17 |
| 分类号 | A47G27/02;A47G27/04 |
| 分类 | 家具;家庭用的物品或设备;咖啡磨;香料磨;一般吸尘器; |
| 申请人名称 | 浙江家园地毯实业有限公司 |
| 申请人地址 | 浙江省嘉兴市桐乡市崇福镇青阳路口 |
专利法律状态
2023-12-22
专利权质押合同登记的生效、变更及注销
状态信息
专利权质押合同登记的生效;IPC(主分类):A47G 27/02;专利号:ZL2021214807882;登记号:Y2023980068914;登记生效日:20231204;出质人:浙江家园地毯实业有限公司;质权人:浙江泰隆商业银行股份有限公司嘉兴桐乡支行;实用新型名称:一种新型阻燃型地毯;申请日:20210701;授权公告日:20211217
2021-12-17
授权
状态信息
授权
摘要
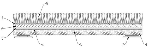
本实用新型公开了一种新型阻燃型地毯,包括底板、表层和绒毛,所述底板的顶端固定有阻燃板,且阻燃板的顶端固定有乳胶,所述乳胶的顶端固定有表层,所述表层的顶端设置有防渗结构,所述表层的顶端设置有绒毛,所述绒毛的两侧均设置有固定结构,所述固定结构包括插头、卡槽、卡块和卡销,所述卡槽均插设在底板的内部,所述卡槽的底端插设有插头。本实用新型将卡销插入卡槽内部,通过变形复位,使卡销与卡槽固定在一起防止结构分裂,通过将插头固定在地板上,使插头进入卡槽的内部进行卡合固定,从而达到防滑固定的效果,由此实现了此装置的固定防滑功能,使地毯不会随意滑动,从而提高使用的安全性。


