授权公布号:CN217429729U
一种电动窗帘轨道
有效
申请
2021-12-29
申请公布
1970-01-01
授权
2022-09-16
预估到期
2031-12-29
| 申请号 | CN202123376231.7 |
| 申请日 | 2021-12-29 |
| 授权公布号 | CN217429729U |
| 授权公告日 | 2022-09-16 |
| 分类号 | A47H1/04;A47H15/02 |
| 分类 | 家具;家庭用的物品或设备;咖啡磨;香料磨;一般吸尘器; |
| 申请人名称 | 广州亨丽窗帘材料有限公司 |
| 申请人地址 | 广东省广州市天河区王园路43号之二栋202房(本住所限写字楼功能)(仅限办公用途)(不可作厂房使用) |
专利法律状态
2022-09-16
授权
状态信息
授权
摘要
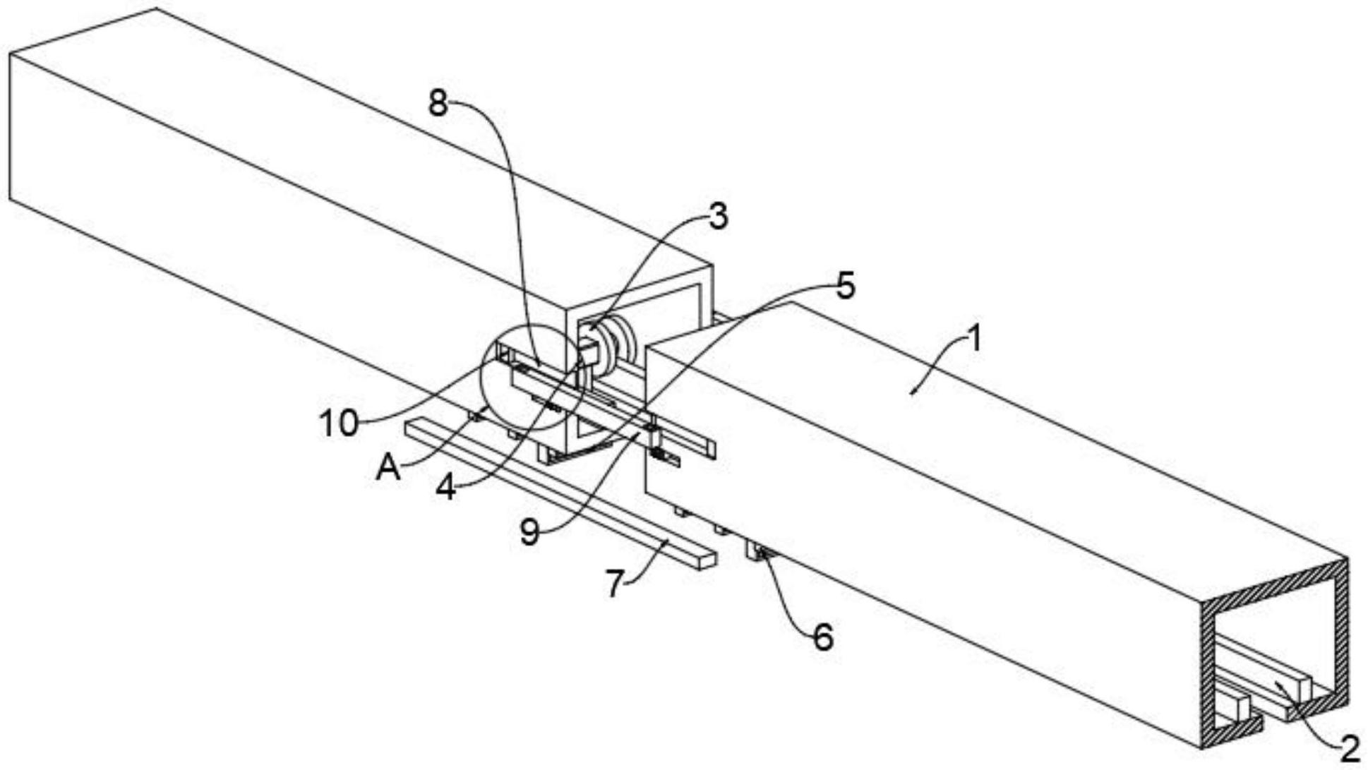
本实用新型公开了一种电动窗帘轨道,包括轨道主体,所述轨道主体的内侧设置有两个对称分布的滑轮导向底板,所述滑轮导向底板的上表面活动设置有驱动滑轮两个所述驱动滑轮的中间设置有T型连接块,所述T型连接块的底端穿过轨道主体的底面延伸至轨道主体的下方,所述T型连接块的底端设置有窗帘连接环,所述T型连接块的上端中间贯穿设置有连接轴,所述连接轴的两端贯穿两个驱动滑轮。本实用新型通过设置有轨道主体、组装卡槽、组装条、伸缩插接块、组装插接孔、手动滑块、连接滑杆、升降块和复位弹簧可以快速的完成对电动窗帘轨道的组装,且保证组装后轨道的稳定,且方便对轨道进行拆卸有利于对轨道进行搬运。


