授权公布号:CN217439916U
一种隐藏式窗帘锁具
有效
申请
2021-12-29
申请公布
1970-01-01
授权
2022-09-16
预估到期
2031-12-29
| 申请号 | CN202123376222.8 |
| 申请日 | 2021-12-29 |
| 授权公布号 | CN217439916U |
| 授权公告日 | 2022-09-16 |
| 分类号 | E06B9/40;E06B9/42;E06B9/80 |
| 分类 | 一般门、窗、百叶窗或卷辊遮帘;梯子; |
| 申请人名称 | 广州亨丽窗帘材料有限公司 |
| 申请人地址 | 广东省广州市天河区王园路43号之二栋202房(本住所限写字楼功能)(仅限办公用途)(不可作厂房使用) |
专利法律状态
2022-09-16
授权
状态信息
授权
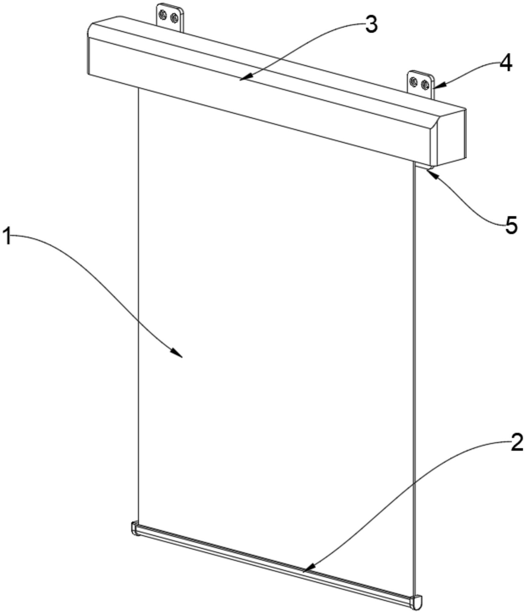
摘要
本实用新型公开了一种隐藏式窗帘锁具,包括隐藏腔外壳,所述隐藏腔外壳下端的两侧均固定焊接配合块一,所述隐藏腔外壳下端的内部活动设置有卷帘,所述卷帘的下端固定设置有插装型固定条,所述配合块一前端的上下两侧固定设置有活动腔,所述活动腔的内部端面连接设置有伸张弹簧,所述伸张弹簧的外侧端面连接设置有活动块,所述配合块一前后横向的中间处贯穿设置有贯穿通孔,所述贯穿通孔的内部活动插装设置有插装柱。本实用新型通过插装型固定条竖向移动至配合块一中间处的贯通槽内时,则插装柱上的贴合板和配合块二可水平放置,则使得插装柱两侧的配合块二可插装在长条槽内,进而使得整体的插装柱可插装在贯穿通孔内。


